LEMON Manuals: Even more car manuals for everyone: 1960-2025
Home >> Subaru >> 2004 >> Forester X, Automatic >> Repair and Diagnosis >> Engine Performance >> Engine Control Systems >> Fuel Injection (Fuel Systems) (H4SO) >> Fuel Level Sensor >> Removal
April 5, 2026: LEMON Manuals is launched! Read the announcement.

Fuel Level Sensor: Removal

WARNING:
  • Place "NO FIRE" signs near the working area. 
  • Be careful not to spill fuel on the floor. 
NOTE: Fuel level sensor is built in fuel pump assembly.
  1. Remove the fuel pump assembly. Refer to REMOVAL , Fuel Pump.
  2. Disconnect the connector from the fuel pump bracket.
    Fig 1: Disconnecting Connector From Fuel Pump Bracket
    G00994941Courtesy of SUBARU OF AMERICA, INC.
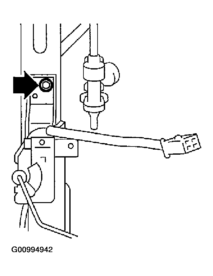
  3. Remove the bolt which installs the fuel level sensor on the mounting bracket.
    Fig 2: Identifying Bolt & Fuel Level Sensor
    G00994942Courtesy of SUBARU OF AMERICA, INC.