LEMON Manuals: Even more car manuals for everyone: 1960-2025
Home >> Subaru >> 2004 >> Forester XT, Standard >> Repair and Diagnosis >> Engine Performance >> Engine Control Systems >> Fuel Injection (Fuel Systems) (H4DOTC) >> Fuel Tank >> Installation
April 5, 2026: LEMON Manuals is launched! Read the announcement.

Fuel Tank: Installation

  1. Support the fuel tank with transmission jack and push the fuel tank harness into access hole with grommet.
  2. Set the fuel tank and temporarily tighten the bolts of fuel tank bands.
    WARNING: A helper is required to perform this work.
    Fig 1: Identifying Fuel Tank
    G00966406Courtesy of SUBARU OF AMERICA, INC.
  3. Connect the fuel filler hose (A) and air vent hose (B).
    Fig 2: Identifying Fuel Filler Hose And Air Vent Hose
    G00966407Courtesy of SUBARU OF AMERICA, INC.
  4. Connect the fuel hoses, and hold them with clips and quick connector. < Ref. to REMOVAL , Fuel Delivery, Return and Evaporation Lines . >
    Fig 3: Identifying Fuel Hoses
    G00966408Courtesy of SUBARU OF AMERICA, INC.
  5. Connect the connectors to the drain valve.
    Fig 4: Identifying Drain Valve
    G00966409Courtesy of SUBARU OF AMERICA, INC.
  6. Connect the connectors to the pressure control solenoid valve.
  7. Connect the evaporation hose to the canister, and hold them clamp.
    Fig 5: Identifying Evaporation Hose
    G00966410Courtesy of SUBARU OF AMERICA, INC.
  8. Tighten the band mounting bolts.
    1. Tightening torque: 33 N.m (3.4 kgf-m, 25 ft-lb) 
    Fig 6: Tightening Band Mounting Bolts
    G00966411Courtesy of SUBARU OF AMERICA, INC.
  9. Install the rear crossmember. < Ref. to INSTALLATION , Rear Crossmember . >
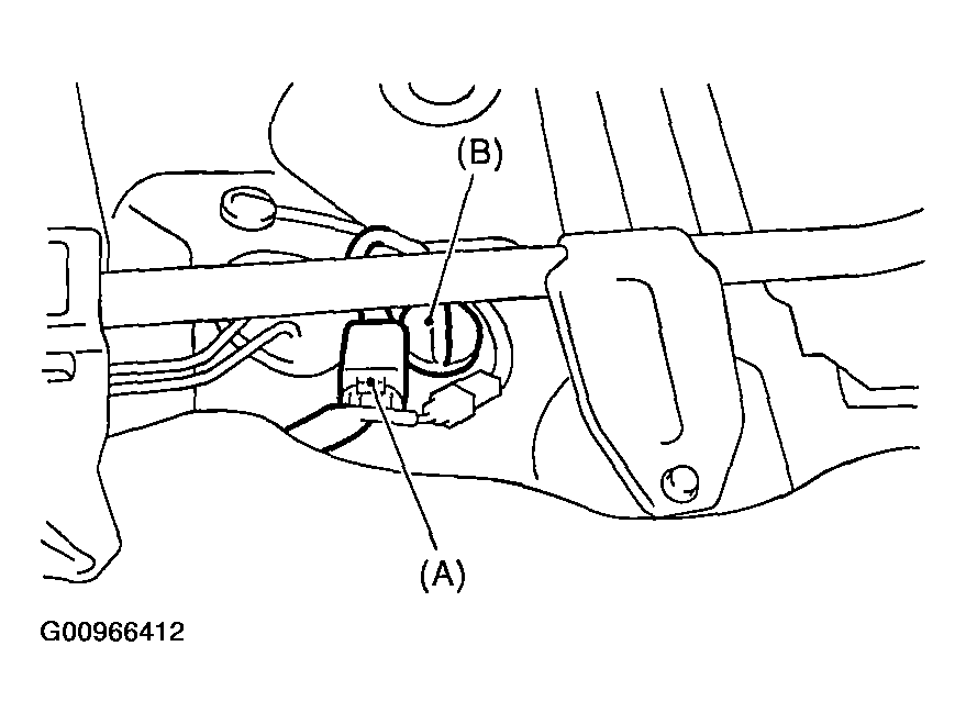
  10. Connect the connectors (A) to the fuel tank cord and plug the service hole with grommet (B).
    Fig 7: Identifying Fuel Tank Cord
    G00966412Courtesy of SUBARU OF AMERICA, INC.
  11. Set the rear seat and floor mat.
  12. Connect the connectors to the fuel pump relay.
    Fig 8: Identifying Fuel Pump Relay
    G00966413Courtesy of SUBARU OF AMERICA, INC.