LEMON Manuals: Even more car manuals for everyone: 1960-2025
Home >> Subaru >> 2004 >> Outback Base, 4D Sedan >> Repair and Diagnosis >> Transmission >> Automatic Trans >> Automatic Transmission >> AT Main Case >> Disassembly
April 5, 2026: LEMON Manuals is launched! Read the announcement.

AT Main Case: Disassembly

  1. HIGH CLUTCH, REVERSE CLUTCH 
    1. Remove the snap ring, and take out the retaining plate, drive plates, driven plates.
      Fig 1: Removing Snap Ring
      G00924290Courtesy of SUBARU OF AMERICA, INC.
    2. Remove snap ring, and take out the retaining plate, drive plates and driven plates.
      Fig 2: Removing Retaining Plate, Drive Plates & Driven Plates
      G00924291Courtesy of SUBARU OF AMERICA, INC.
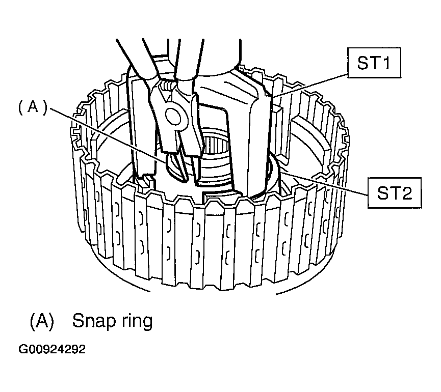
    3. Using ST1 and ST2, remove snap ring.

      ST1 398673600 COMPRESSOR

      ST2 498627100 SEAT

      Fig 3: Removing Snap Ring Using Special Tool
      G00924292Courtesy of SUBARU OF AMERICA, INC.
    4. Take out clutch cover, spring retainer, high clutch piston and reverse clutch piston.
      Fig 4: Removing Clutch Cover, Spring Retainer, High Clutch Piston & Reverse Clutch Piston
      G00924293Courtesy of SUBARU OF AMERICA, INC.
    5. Remove seal rings and lip seal from high clutch piston and reverse clutch piston.
      Fig 5: Removing Seal Rings & Lip Seal From High Clutch Piston & Reverse Clutch Piston
      G00924294Courtesy of SUBARU OF AMERICA, INC.
  2. PLANETARY GEAR, LOW CLUTCH 
    1. Remove snap ring from the low clutch drum.
      Fig 6: Removing Snap Ring From Low Clutch Drum
      G00924295Courtesy of SUBARU OF AMERICA, INC.
    2. Take out front planetary carrier.
      Fig 7: Removing Front Planetary Carrier
      G00924296Courtesy of SUBARU OF AMERICA, INC.
    3. Take out rear sun gear.
      Fig 8: Removing Out Rear Sun Gear
      G00924297Courtesy of SUBARU OF AMERICA, INC.
    4. Take out rear planetary carrier, washer and thrust needle bearing.
      Fig 9: Removing Rear Planetary Carrier, Washer & Thrust Needle Bearing
      G00924298Courtesy of SUBARU OF AMERICA, INC.
    5. Take out rear internal gear.
      Fig 10: Removing Rear Internal Gear
      G00924299Courtesy of SUBARU OF AMERICA, INC.
    6. Remove the snap ring from the low clutch drum.
      Fig 11: Removing Snap Ring From Low Clutch Drum
      G00924300Courtesy of SUBARU OF AMERICA, INC.
    7. Compress the spring retainer, and remove the snap ring from the low clutch drum, by using ST1 and ST2.

      ST1 498627100 SEAT

      ST2 398673600 COMPRESSOR

      Fig 12: Removing Snap Ring From Low Clutch Drum Using Special Tool
      G00924301Courtesy of SUBARU OF AMERICA, INC.
    8. Remove one-way clutch. Refer to AT MAIN CASE .
    9. Install the one-way clutch inner race to the low clutch drum, and apply compressed air to remove the low clutch piston.
      Fig 13: Installing One-Way Clutch Inner Race To Low Clutch Drum
      G00924302Courtesy of SUBARU OF AMERICA, INC.
    10. Remove the one-way clutch inner race.
    11. Remove the one-way clutch after taking out the snap ring.
      Fig 14: Removing One-Way Clutch
      G00924303Courtesy of SUBARU OF AMERICA, INC.
    12. Remove the needle bearing after taking out the snap ring.
      Fig 15: Removing Needle Bearing
      G00924304Courtesy of SUBARU OF AMERICA, INC.
  3. 2-4 BRAKE 
    1. Separate 2-4 brake piston and piston retainer.
      Fig 16: Removing 2-4 Brake Piston & Piston Retainer
      G00924305Courtesy of SUBARU OF AMERICA, INC.
  4. ONE-WAY CLUTCH INNER RACE 
    1. Remove seal rings.
      Fig 17: Removing Seal Rings
      G00924306Courtesy of SUBARU OF AMERICA, INC.
    2. Using ST, remove needle bearing.

      ST 398527700 PULLER ASSY

  5. ONE-WAY CLUTCH OUTER RACE 
    1. Remove the one-way clutch after taking out the snap ring.
      Fig 18: Removing One-Way Clutch
      G00924307Courtesy of SUBARU OF AMERICA, INC.
    2. Remove the needle bearing after taking out the snap ring.
      Fig 19: Removing Needle Bearing
      G00924308Courtesy of SUBARU OF AMERICA, INC.