LEMON Manuals: Even more car manuals for everyone: 1960-2025
Home >> Subaru >> 2004 >> Outback L.L. Bean Edition >> Repair and Diagnosis >> Transmission >> Transmission Control Systems >> A/T & M/T Control Systems >> AT Shift Lock System >> Schematic
April 5, 2026: LEMON Manuals is launched! Read the announcement.

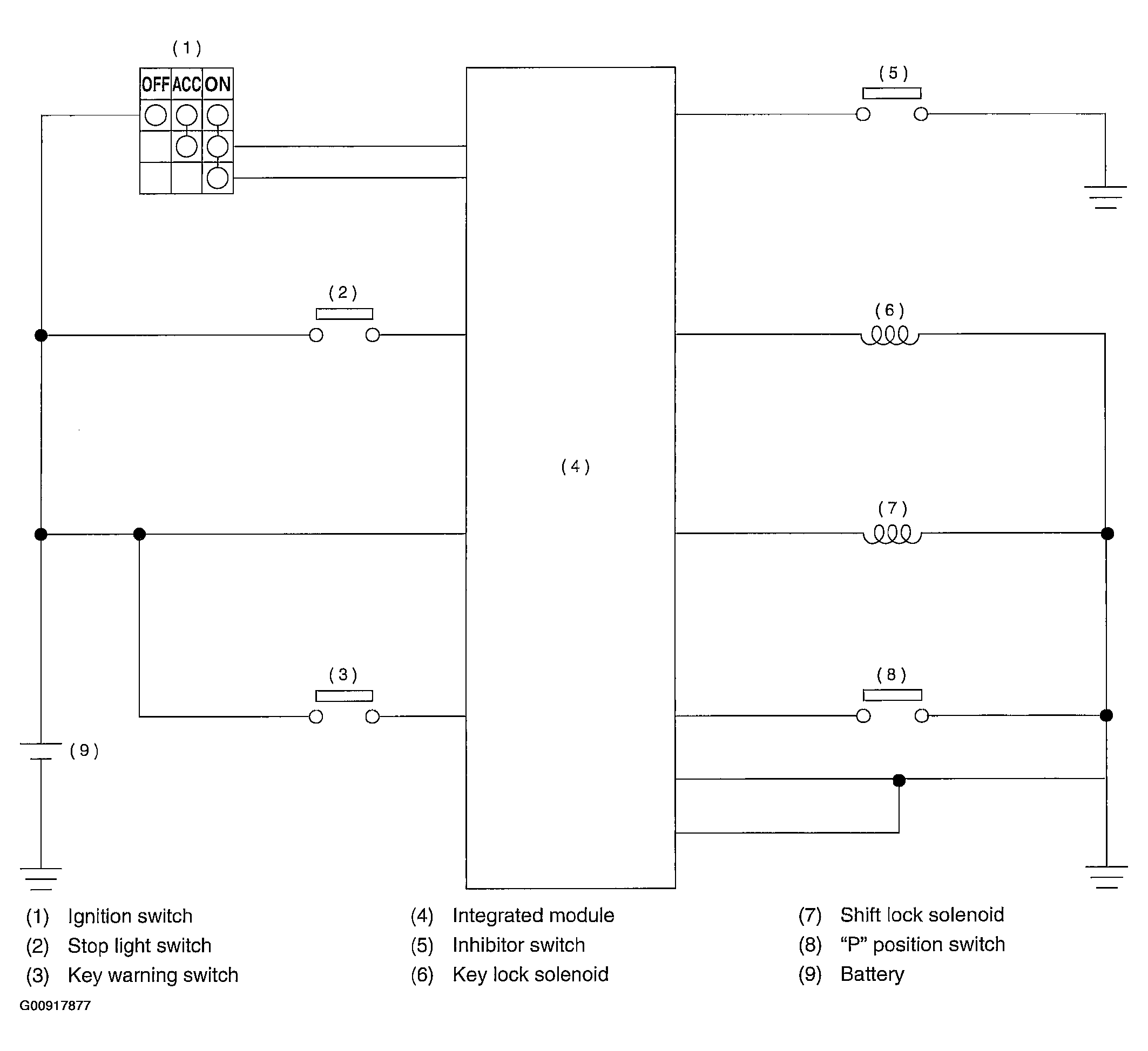
AT Shift Lock System: Schematic

Fig 1: Schematic Diagram
G00917877Courtesy of SUBARU OF AMERICA, INC.