LEMON Manuals: Even more car manuals for everyone: 1960-2025
Home >> Subaru >> 2005 >> Baja Base, Automatic >> Repair and Diagnosis (Single Page) >> Accessories & Equipment >> Anti-Theft Systems >> Security And Locks >> Security Control Module >> Removal
April 5, 2026: LEMON Manuals is launched! Read the announcement.

Security Control Module: Removal

  1. Disconnect the ground cable from battery.
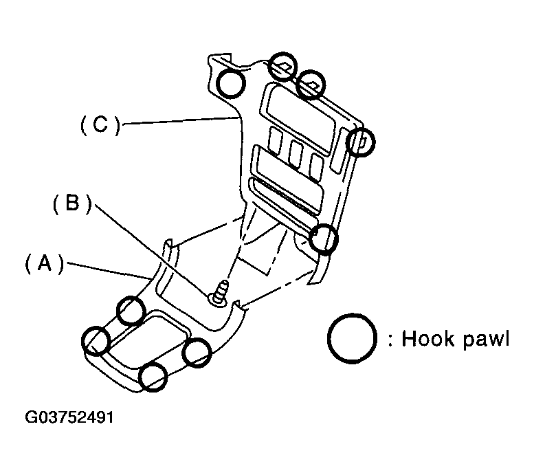
  2. Remove front cover (A).
  3. Remove screws (B) and then detach center panel (C) while disconnecting connector.
    Fig 1: Detaching Center Panel
    G03752491Courtesy of SUBARU OF AMERICA, INC.
  4. Remove two screws.
    NOTE: Before removing the screw, apply a few turns of butyl tape to the tip of the service tool. This prevents the screw from falling during removal.
    Fig 2: Removing Screws
    G03752492Courtesy of SUBARU OF AMERICA, INC.
  5. Remove radio and security control module together while disconnecting connector. < Ref. to REMOVAL . >