LEMON Manuals: Even more car manuals for everyone: 1960-2025
Home >> Subaru >> 2005 >> Forester X, Standard >> Repair and Diagnosis >> Engine Performance >> Engine Control Systems >> Fuel Injection - Fuel Systems (H4SO) >> Fuel Tank >> Removal
April 5, 2026: LEMON Manuals is launched! Read the announcement.

Fuel Tank: Removal

WARNING:
  • Place "NO FIRE" signs near the working area.
  • Be careful not to spill fuel on the floor.
  1. Set the vehicle on a lift.
  2. Release the fuel pressure. < Ref. to RELEASING OF FUEL PRESSURE, PROCEDURE , Fuel. >
  3. Drain the fuel from the fuel tank. < Ref. to DRAINING FUEL, PROCEDURE , Fuel. >
  4. Remove the rear seat.
  5. Disconnect the connector (A) of fuel tank cord to the rear harness.
  6. Push the grommet (B) which holds the fuel tank cord on floor panel into under the body.
    Fig 1: Identifying Connector And Grommet
    G03805301Courtesy of SUBARU OF AMERICA, INC.
  7. Remove the rear crossmember. < Ref. to REMOVAL , Rear Crossmember. >
  8. Remove the canister. < Ref. to REMOVAL , Canister. >
  9. Disconnect the connector from pressure control solenoid valve.
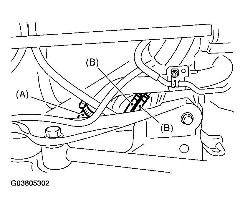
  10. Loosen the clamp and disconnect the fuel filler hose (A) and evaporation hose (B) from the fuel filler pipe.
    Fig 2: Disconnecting Fuel Filler Hose And Evaporation Hose From Fuel Filler Pipe
    G03805302Courtesy of SUBARU OF AMERICA, INC.
    Fig 3: Identifying Evaporation Hose
    G03805303Courtesy of SUBARU OF AMERICA, INC.
  11. Move the clips, and disconnect the quick connector. < Ref. to REMOVAL , Fuel Delivery, Return and Evaporation Lines. >
  12. Disconnect the fuel hoses.
    Fig 4: Disconnecting Fuel Hoses
    G03805304Courtesy of SUBARU OF AMERICA, INC.
  13. Support the fuel tank with a transmission jack, remove the bolts from bands and dismount the fuel tank from the vehicle.
    WARNING: An assistant is required to perform this work.
    Fig 5: Removing Bolts From Bands
    G03805305Courtesy of SUBARU OF AMERICA, INC.