LEMON Manuals: Even more car manuals for everyone: 1960-2025
Home >> Subaru >> 2005 >> Forester XT, Automatic >> Repair and Diagnosis >> Engine Performance >> Engine Control Systems >> Fuel Injection - Fuel Systems (H4DOTC) >> Fuel Tank >> Installation
April 5, 2026: LEMON Manuals is launched! Read the announcement.

Fuel Tank: Installation

  1. Support the fuel tank with transmission jack and push the fuel tank harness into the access hole with grommet.
  2. Set the fuel tank and temporarily tighten the bolts of fuel tank bands.
    WARNING: A helper is required to perform this work.
    Fig 1: Installing Bolts
    G03806417Courtesy of SUBARU OF AMERICA, INC.
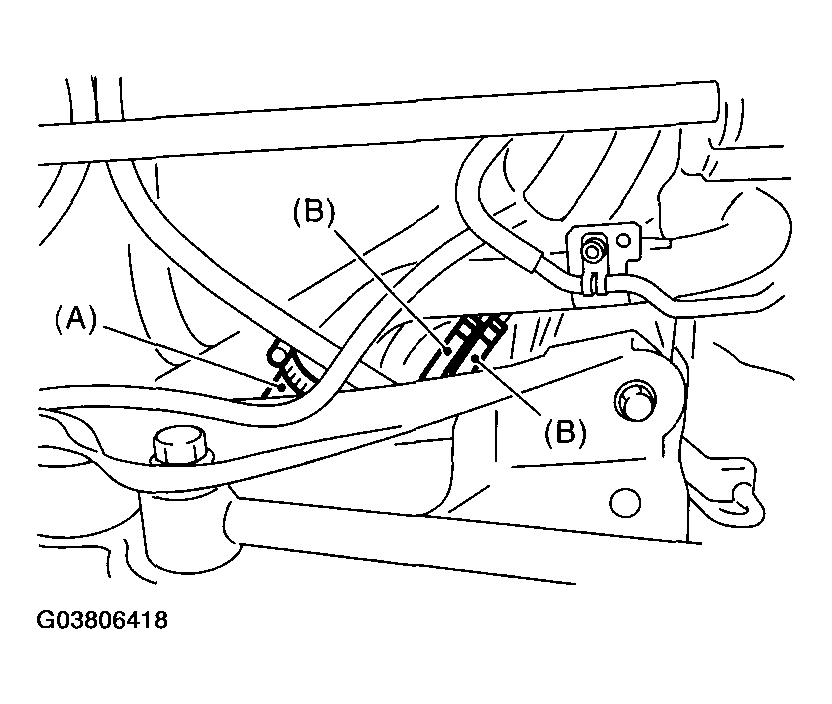
  3. Insert the fuel filler hose (A) approx. 35 to 40 mm (1.38 to 1.57 in) over the lower end of fuel filler pipe and tighten the clamp.
    CAUTION: Do not allow clips to touch air vent hose (B) and rear suspension crossmember.
    Fig 2: Inserting Fuel Filler Hose
    G03806418Courtesy of SUBARU OF AMERICA, INC.
    Fig 3: Installing Air Vent Hose
    G03806419Courtesy of SUBARU OF AMERICA, INC.
  4. Connect the fuel hoses, and hold them with clips and quick connector. < Ref. to INSTALLATION , Fuel Delivery, Return and Evaporation Lines. >
    Fig 4: Connecting Fuel Hoses
    G03806420Courtesy of SUBARU OF AMERICA, INC.
  5. Connect the connector to the pressure control solenoid valve.
  6. Install the canister. < Ref. to INSTALLATION , Canister. >
  7. Tighten the band mounting bolts.

    Tightening torque: 

    33 N.m (3.4 kgf-m, 25 ft-lb) 

    Fig 5: Tightening Band Mounting Bolts
    G03806421Courtesy of SUBARU OF AMERICA, INC.
  8. Install the rear crossmember. < Ref. to INSTALLATION , Rear Crossmember. >
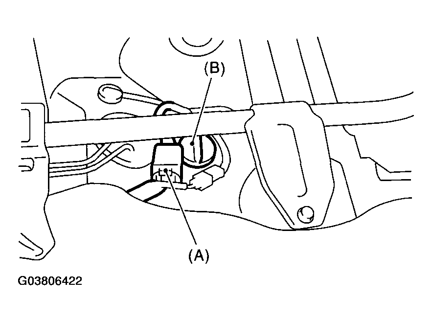
  9. Connect the connector (A) to the fuel tank cord and plug the service hole with grommet (B).
    Fig 6: Connecting Connector To Fuel Tank Cord
    G03806422Courtesy of SUBARU OF AMERICA, INC.
  10. Set the rear seat and floor mat.
  11. Connect the connector to the fuel pump relay.
    Fig 7: Connecting Connector To Fuel Pump Relay
    G03806423Courtesy of SUBARU OF AMERICA, INC.