LEMON Manuals
: Even more car manuals for everyone: 1960-2025
Home
>>
Subaru
>>
2005
>>
Outback R
>>
Repair and Diagnosis
>>
Engine Performance
>>
Engine Control Systems
>>
Fuel Injection (Fuel Systems) (H6DO)
>>
General Description
>>
Components With Torque Specifications
>>
Air Intake System
April 5, 2026:
LEMON Manuals is launched!
Read the announcement.
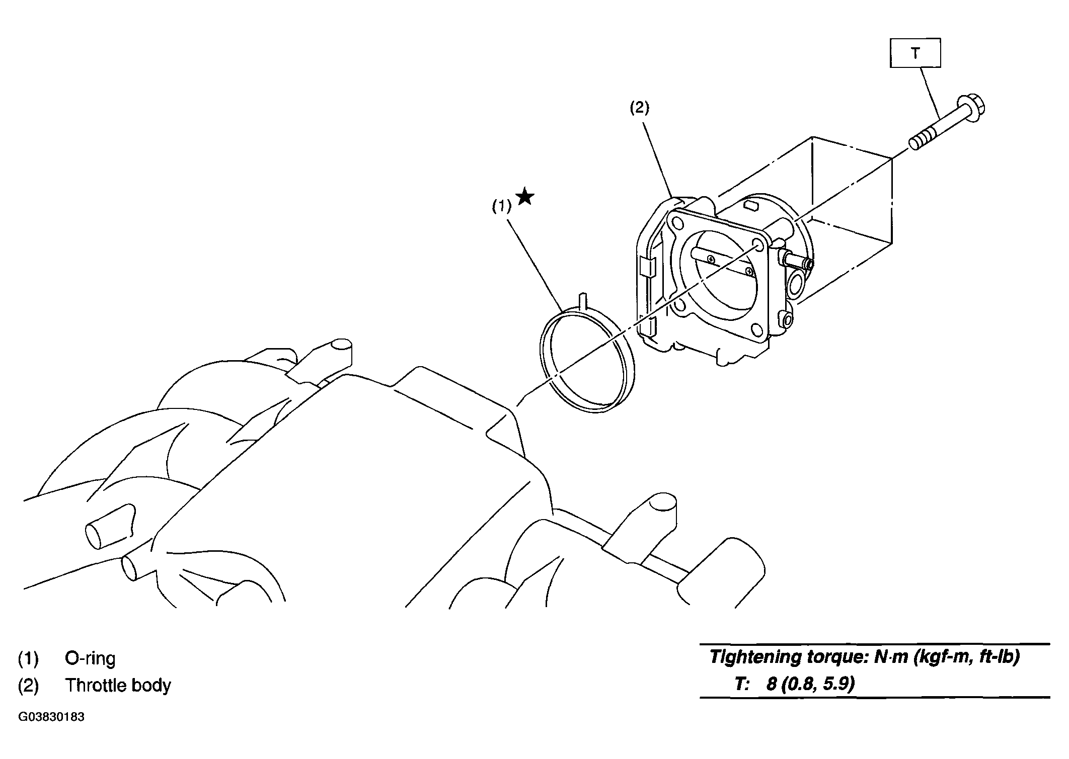
Air Intake System
Fig 1: Exploded View Of Air Intake System With Torque Specifications
Courtesy of SUBARU OF AMERICA, INC.