LEMON Manuals: Even more car manuals for everyone: 1960-2025
Home >> Subaru >> 2005 >> Outback XT, Standard >> Repair and Diagnosis >> Engine Performance >> Engine Control Systems >> Fuel Injection (Fuel Systems) (H4DOTC) >> General Description >> Components With Torque Specifications >> Air Intake System
April 5, 2026: LEMON Manuals is launched! Read the announcement.

Air Intake System

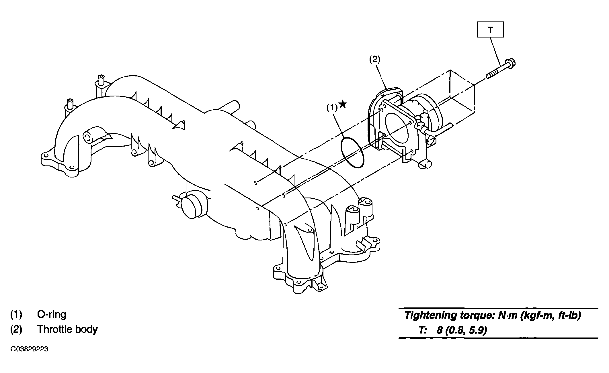
Fig 1: Exploded View Of Air Intake System Components With Torque Specifications
G03829223Courtesy of SUBARU OF AMERICA, INC.