LEMON Manuals: Even more car manuals for everyone: 1960-2025
Home >> Subaru >> 2006 >> Forester X, Automatic >> Repair and Diagnosis >> Engine Performance >> Engine Control Systems >> Fuel Injection (Fuel Systems) (H4SO) >> General Description >> Components With Torque Specifications >> Fuel Line
April 5, 2026: LEMON Manuals is launched! Read the announcement.

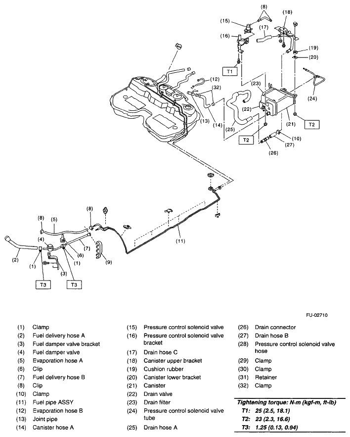
Fuel Line

Fig 1: Exploded View Of Fuel Line With Torque Specifications
G04992176