LEMON Manuals: Even more car manuals for everyone: 1960-2025
Home >> Subaru >> 2006 >> Outback XT, Automatic >> Repair and Diagnosis >> Steering >> Power Steering >> Power Assisted System (Power Steering) >> Pipe Assembly >> Installation
April 5, 2026: LEMON Manuals is launched! Read the announcement.

Pipe Assembly: Installation

  1. Temporarily tighten the bolt of hose bracket.
    Fig 1: Tightening Bolt Of Hose Bracket
    G03833169Courtesy of SUBARU OF AMERICA, INC.
  2. Install the resin clip to the pressure hose and suction hose.
    CAUTION: Align the installation position of the resin clip with the protector edge of suction hose.
    Fig 2: Installing Resin Clip To Pressure Hose And Suction Hose
    G03833170Courtesy of SUBARU OF AMERICA, INC.
  3. Connect the suction hose and return hose to reservoir tank. Install the oil cooler to oil cooler bracket.
    CAUTION: Firmly insert the resin clip of return hose to the bracket.
    • H4 model
    Fig 3: Connecting Suction Hose And Return Hose To Reservoir Tank (H4 Model)
    G03833171Courtesy of SUBARU OF AMERICA, INC.
    • H6 model
    Fig 4: Connecting Suction Hose And Return Hose To Reservoir Tank (H6 Model)
    G03833172Courtesy of SUBARU OF AMERICA, INC.
  4. Connect the suction hose and pressure hose to the oil pump. Tighten the eye bolt of pressure hose.

    Tightening torque: 

    39 N.m (3.98 kgf-m, 28.8 ft-lb) 

    Fig 5: Tightening Eye Bolt Of Pressure Hose
    G03833173Courtesy of SUBARU OF AMERICA, INC.
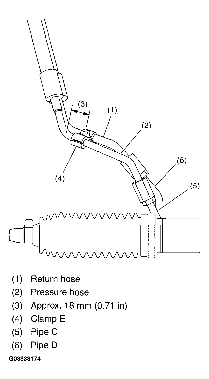
  5. Temporarily connect the pressure hose and pipe C, the return hose and D. Place the clamp E in the position shown in Fig 6 , and tighten the bolt temporarily.
    Fig 6: Connecting Pressure Hose And Pipe C, Return Hose And D
    G03833174Courtesy of SUBARU OF AMERICA, INC.
  6. Tighten the clamp E.

    Tightening torque: 

    7.4 N.m (0.75 kgf-m, 5.4 ft-lb) 

  7. Tighten the pressure hose and pipe C, the return hose and pipe D.

    Tightening torque: 

    15 N.m (1.5 kgf-m, 10.8 ft-lb) 

  8. Connect the pipe A and B to the four pipe joints of gearbox.

    Tightening torque: 

    Refer to ,  POWER ASSISTED SYSTEM  , COMPONENT, General Description.> 

    Fig 7: Connecting Pipe A And B To Four Pipe Joints Of Gearbox
    G03833175Courtesy of SUBARU OF AMERICA, INC.
  9. Install the front crossmember support plate and jack-up plate.
  10. Lower the vehicle.
  11. Tighten the bolts which hold the hose bracket.

    Tightening torque: 

    10 N.m (1.02 kgf-m, 7.4 ft-lb) 

    Fig 8: Tightening Bolts Which Hold Hose Bracket
    G03833176Courtesy of SUBARU OF AMERICA, INC.
  12. Install the air intake duct. < Ref. to INSTALLATION - H4DOTC , Air Intake Duct.> < Ref. to INSTALLATION - H4SO , Air Intake Duct. >
  13. Connect the battery ground cable to battery.
  14. Feed the specified fluid.
    CAUTION: Never start the engine before feeding the fluid; otherwise vane pump might be seized up.
  15. Finally, check clearance between pipes or hoses as shown in INSPECTION OF CLEARANCE , INSPECTION, General Diagnostic Table. >