LEMON Manuals: Even more car manuals for everyone: 1960-2025
Home >> Subaru >> 2006 >> Outback XT, Automatic >> Repair and Diagnosis >> Steering >> Power Steering >> Power Assisted System (Power Steering) >> Steering Gearbox >> Assembly >> Control Valve Assembly
April 5, 2026: LEMON Manuals is launched! Read the announcement.

Control Valve Assembly

Specified steering grease: 

VALIANT GREASE M2 (Part No. 003608001) 

  1. Clean all parts and tools before reassembling.
  2. Apply a coat of specified power steering fluid to the inner wall of valve housing.
    Fig 1: Applying Coat Of Specified Power Steering Fluid
    G03833136Courtesy of SUBARU OF AMERICA, INC.
  3. To avoid scratching the oil seal, apply a coat of grease to the contact surface of installer and oil seal.
  4. Verify the oil seal direction.

    Attach the oil seal to installer and position in valve housing before pressing into place.

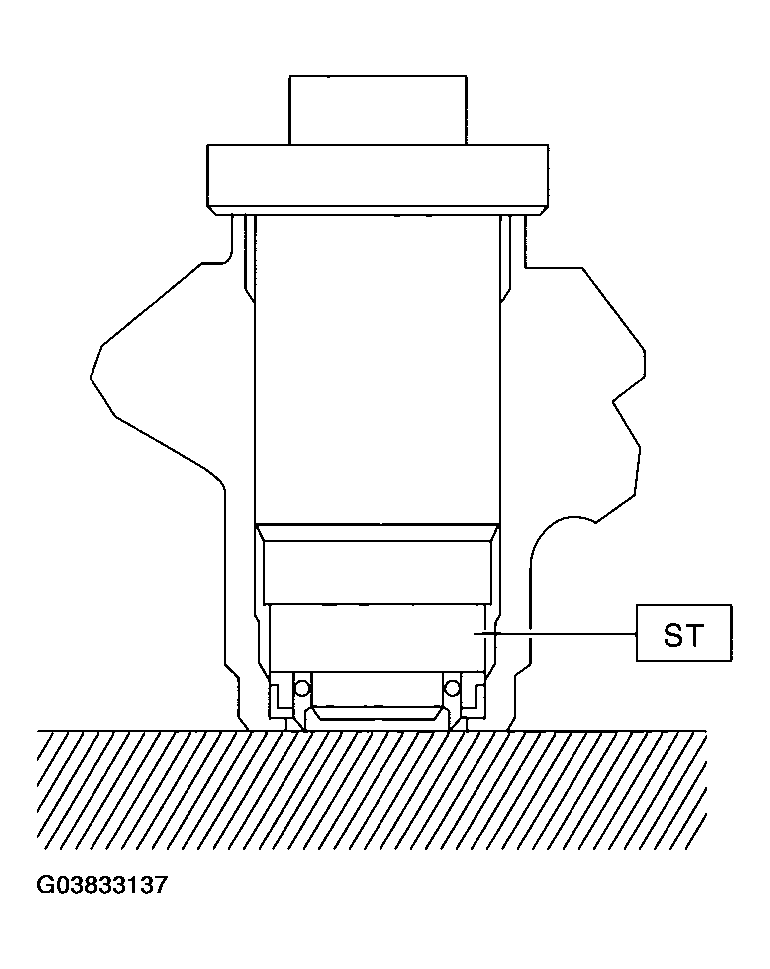
  5. Press the oil seal into place using a press.

    ST 34199AG090 INSTALLER & REMOVER

    Fig 2: Pressing Oil Seal Into Place
    G03833137Courtesy of SUBARU OF AMERICA, INC.
  6. Attach the bearing to ST, and then position in value housing. Using the ST and press, install the special bearing in valve housing.

    ST 34199AG090 INSTALLER & REMOVER

    Fig 3: Installing Special Bearing In Valve Housing
    G03833138Courtesy of SUBARU OF AMERICA, INC.
  7. Apply vinyl tape to the groove portion of pinion.
  8. Install the backup ring and oil seal to pinion, and then remove the vinyl tape.
    Fig 4: Removing Vinyl Tape
    G03833139Courtesy of SUBARU OF AMERICA, INC.
  9. Set the ST to pinion, and install the seal ring.

    ST 34199AG020 GUIDE

    Fig 5: Installing Seal Ring
    G03833140Courtesy of SUBARU OF AMERICA, INC.
  10. Remove the ST GUIDE, and form the seal ring properly using ST FORMER.

    ST 34199AG070 FORMER

    Fig 6: Forming Seal Ring
    G03833141Courtesy of SUBARU OF AMERICA, INC.
  11. Put vinyl tape around the pinion shaft splines to protect oil seal from damage.
  12. Install the valve to pinion, and install the snap ring.
    Fig 7: Installing Valve To Pinion And Snap Ring
    G03833142Courtesy of SUBARU OF AMERICA, INC.
  13. Fit the pinion & valve assembly into valve housing.
    Fig 8: Fitting Pinion And Valve Assembly Into Valve Housing
    G03833143Courtesy of SUBARU OF AMERICA, INC.
  14. Using a press, press-fit the pinion & valve assembly into housing by pressing the bearing outer race.
    Fig 9: Pressing Bearing Outer Race
    G03833144Courtesy of SUBARU OF AMERICA, INC.
  15. Apply the specified grease to dust cover.
  16. Install the dust cover on valve assembly.
    CAUTION: Be sure to install the dust cover to groove on shaft properly.
    Fig 10: Installing Dust Cover To Groove On Shaft
    G03833145Courtesy of SUBARU OF AMERICA, INC.
  17. Apply genuine grease to the pinion gear and bearing of valve assembly.
    Fig 11: Applying Genuine Grease To Pinion Gear And Bearing Of Valve Assembly
    G03833146Courtesy of SUBARU OF AMERICA, INC.
  18. Install a new O-ring on valve assembly.
    Fig 12: Installing O-Ring On Valve Assembly
    G03833147Courtesy of SUBARU OF AMERICA, INC.
  19. Insert the valve assembly into place while facing rack teeth toward pinion.
    Fig 13: Inserting Valve Assembly Into Place While Facing Rack Teeth Toward Pinion
    G03833148Courtesy of SUBARU OF AMERICA, INC.
  20. Tighten the bolts alternately to secure valve assembly.

    Tightening torque: 

    20 N.m (2.0 kgf-m, 14.8 ft-lb) 

    CAUTION: Be sure to alternately tighten the bolts.
  21. Apply liquid gasket to at least 1/3 of the entire perimeter of adjusting screw thread.

    Liquid gasket: 

    THREE BOND 1141 (Part No. 004403006) 

  22. Apply a coat of grease to the sliding surface of sleeve and seating surface of spring, and then insert the sleeve into steering body.

    Charge the adjusting screw with grease, and then insert the spring into adjusting screw and install on steering body.

    Fig 14: Installing Sleeve, Spring And Adjusting Screw
    G03833149Courtesy of SUBARU OF AMERICA, INC.
  23. Tighten the adjusting screw with specified torque.

    Tightening torque: 

    3.9 N.m (0.4 kgf-m, 2.9 ft-lb) 

  24. After tightening to the specified tightening torque, loosen it by 20°.
  25. Adjust the turning resistance of gearbox so that it is within specification using adjusting screw.< Ref. to , TURNING RESISTANCE OF GEARBOX , INSPECTION, Steering Gearbox. >
  26. Apply liquid gasket to lock nut and install it into adjusting screw. While holding the adjusting screw with a wrench, tighten the lock nut using ST.

    Liquid gasket: 

    THREE BOND 1141 

    ST 926230000 SPANNER

    Tightening torque (Lock nut): 

    25 N.m (2.5 kgf-m, 18.1 ft-lb) 

    NOTE: Hold the adjusting screw with a wrench to prevent it from turning while tightening lock nut.
  27. Remove the gearbox from ST.

    ST1 926200000 STAND

    ST2 34199AG000 BOSS D

  28. Install the four pipes on gearbox.
  1. Connect the pipe A and B to the gearbox.

    Tightening torque: 

    Refer to ,  POWER ASSISTED SYSTEM  , COMPONENT, General Description.> 

  2. Connect the pipe C and D to gearbox.

    Tightening torque: 

    Pipe C: 37 N.m (3.8 kgf-m, 27.3 ft-lb) 

    Pipe D: 29 N.m (3.0 kgf-m, 21.4 ft-lb) 

    Fig 15: Connecting Pipe C And D To Gearbox
    G03833150Courtesy of SUBARU OF AMERICA, INC.