LEMON Manuals: Even more car manuals for everyone: 1960-2025
Home >> Subaru >> 2007 >> B9 Tribeca Base >> Repair and Diagnosis >> Body & Frame >> Windows >> Glass/Windows/Mirrors >> General Description >> Components With Torque Specifications >> Mirror
April 5, 2026: LEMON Manuals is launched! Read the announcement.

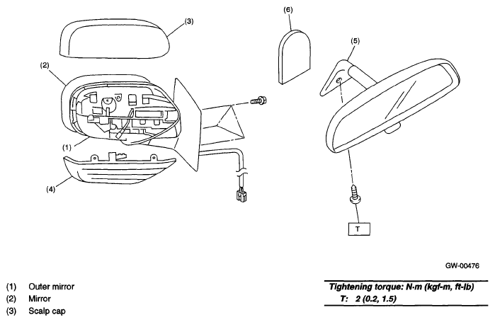
Components With Torque Specifications: Mirror

Fig 1: Mirror Component With Torque Specification
G05033474Courtesy of SUBARU OF AMERICA, INC.