LEMON Manuals: Even more car manuals for everyone: 1960-2025
Home >> Subaru >> 2007 >> Outback F4-2.5L SOHC >> Repair and Diagnosis >> Heating and Air Conditioning >> System Relay >> Testing and Inspection
April 5, 2026: LEMON Manuals is launched! Read the announcement.

System Relay: Testing and Inspection

INSPECTION






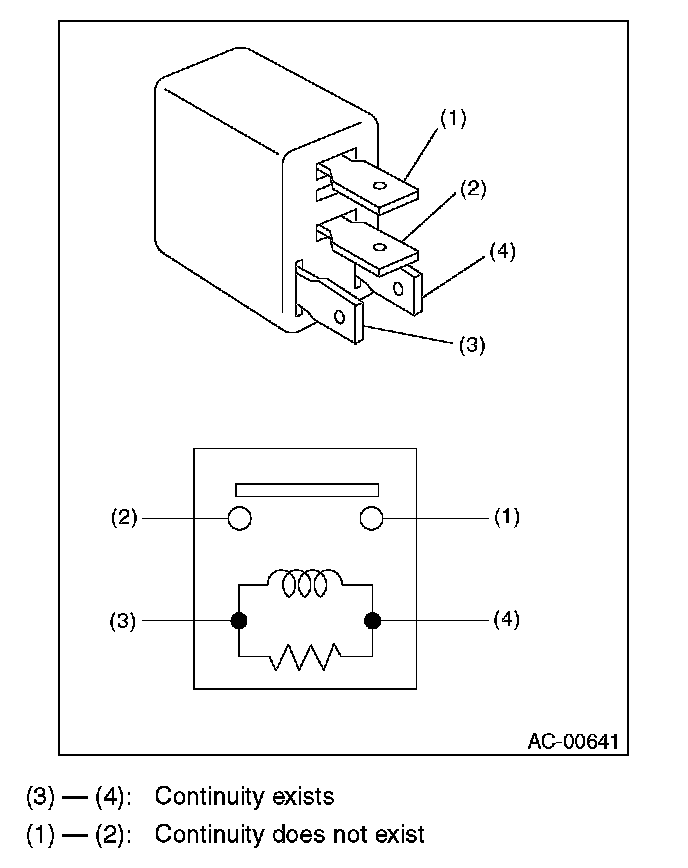
While applying battery voltage to the terminal between (3) and (4), check continuity between (1) and (2). If no continuity exists, replace the relay with a new part.