LEMON Manuals: Even more car manuals for everyone: 1960-2025
Home >> Subaru >> 2008 >> Outback Base, Automatic >> Repair and Diagnosis >> Engine Performance >> Remove, Overhaul & Install >> Mechanism & Function -- Fuel Injection System (H4SO) >> Fuel System >> Fuel Injector
April 5, 2026: LEMON Manuals is launched! Read the announcement.

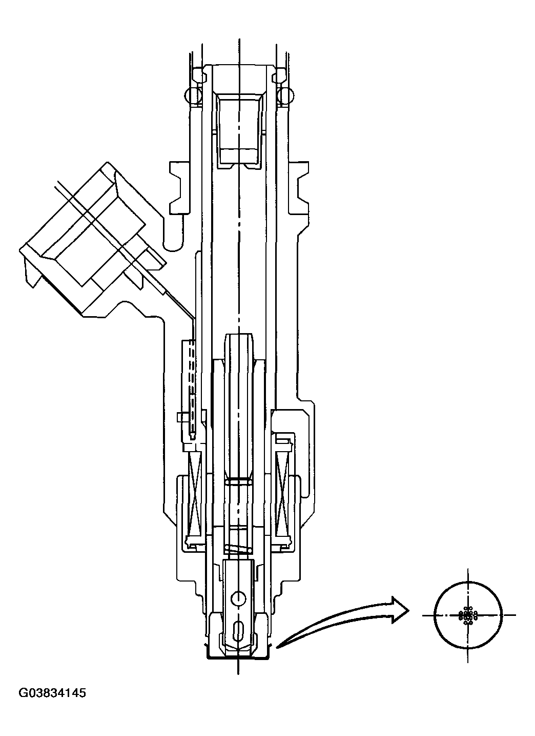
Fuel Injector

Fig 1: Fuel Injector Line Diagram
G03834145Courtesy of SUBARU OF AMERICA, INC.