LEMON Manuals: Even more car manuals for everyone: 1960-2025
Home >> Subaru >> 2008 >> Outback Base, Automatic >> Repair and Diagnosis >> External Pages >> Different car >> Section 117 (Lighting System) >> Front Fog Light Assembly >> Removal >> Except For Outback Model
April 5, 2026: LEMON Manuals is launched! Read the announcement.

Except For Outback Model

WARNING: This page is about a different car, the 2007 Subaru Outback and 2007 Subaru Legacy. However, it is still accessible from the selected car via links, so may be relevant.
  1. Disconnect the ground cable from the battery.
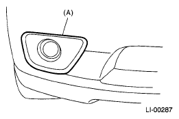
  2. Remove the front fog light cover (A).
    Fig 1: Identifying Front Fog Light Cover
    G05022471Courtesy of SUBARU OF AMERICA, INC.
  3. Disengage the two clips, and then turn over the lower mud guard.
    Fig 2: Locating Lower Mud Guard Clips
    G05022586Courtesy of SUBARU OF AMERICA, INC.
  4. Disconnect the harness connector.
  5. Remove the mounting bolts, and pull and detach the fog light assembly.
    Fig 3: Locating Fog Light Assembly Mounting Bolts
    G05343973Courtesy of SUBARU OF AMERICA, INC.