LEMON Manuals: Even more car manuals for everyone: 1960-2025
Home >> Subaru >> 2008 >> Outback Base, Automatic >> Repair and Diagnosis >> External Pages >> Different car >> Section 71 (Drivetrain System) >> General Description >> Specification >> Propeller Shaft
April 5, 2026: LEMON Manuals is launched! Read the announcement.

Propeller Shaft

WARNING: This page is about a different car, the 2006 Subaru Outback and 2006 Subaru Legacy. However, it is still accessible from the selected car via links, so may be relevant.
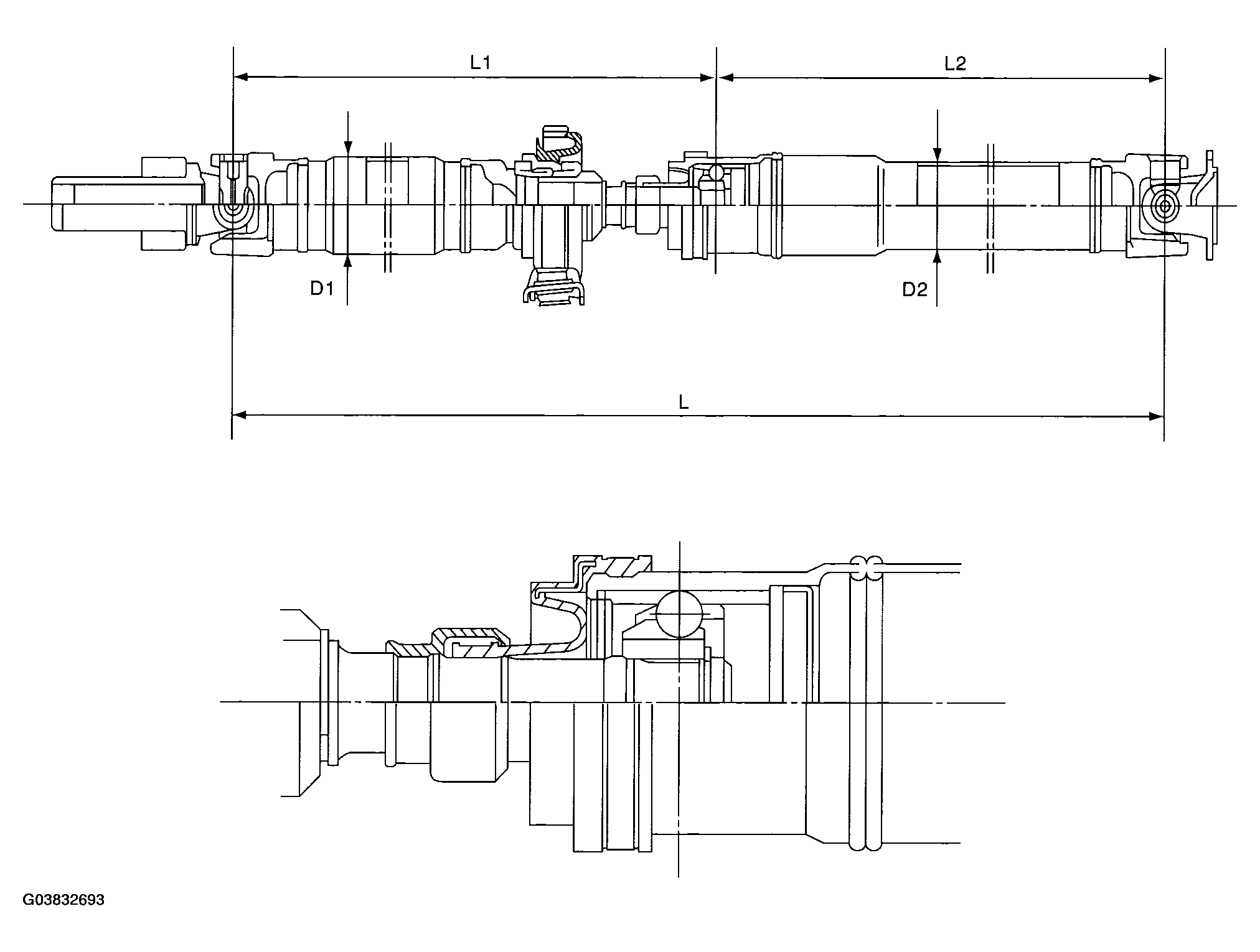
PROPELLER SHAFT SPECIFICATIONS

Model 5MT 4AT 5AT
Propeller shaft type EDJ
Propeller shaft length: L mm (in) 1,490 (58.66) 1,430 (56.30) 1,317 (51.85)
Front propeller shaft Joint-to-joint length: L1 mm (in) 735 (28.9) 675 (26.6) 562 (22.1)
Rear propeller shaft Joint-to-Joint length: L2 mm (in) 755 (29.7)
Outer diameter of tube: mm (in) D1 63.5 (2.50)
D2 57.5 (2.26)
Fig 1: Identifying Propeller Shaft
G03832693Courtesy of SUBARU OF AMERICA, INC.