LEMON Manuals: Even more car manuals for everyone: 1960-2025
Home >> Subaru >> 2008 >> Outback Base, Automatic >> Repair and Diagnosis >> Maintenance >> Procedures >> General Information >> Notices >> Note >> Towing
April 5, 2026: LEMON Manuals is launched! Read the announcement.

General Information: Notices: Note: Towing

Avoid towing vehicles except when the vehicle cannot be driven. For models with AWD, AT or VTD, use a loader instead of towing. When towing other vehicles, pay attention to the following to prevent hook or vehicle damage resulting from excessive weight.

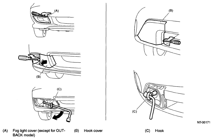
Remove the fog light cover (except for OUTBACK model) and hook cover, and then install the hook.

Fig 1: Removing Fog Light Cover And Hook Cover
G05664769Courtesy of SUBARU OF AMERICA, INC.
TOWING PRECAUTIONS CHART

Towing Precautions MT AT
Lifting up four wheels (On a trailer)
G05664771Courtesy of SUBARU OF AMERICA, INC.
Towing the vehicle after lifting up all four wheels is a basic rule for AWD model.
Rope
G05664772Courtesy of SUBARU OF AMERICA, INC.
  • Check if both front and rear wheels are rotated normally.
  • AT model driving conditions: Driving speed 50 km/h (31 MPH) or less

Allow driving distance 30 km (19 miles) or less
 
Raising the front wheels
G05664773Courtesy of SUBARU OF AMERICA, INC.
Prohibited for full-time AWD model. X X
Lifting up the front wheels
G05664774Courtesy of SUBARU OF AMERICA, INC.
  • Prohibited, due to damage on bumper, front grille, etc.
  • Do not raise the vehicle with bumper.
X X
Marked ◦: OK, Marked X: Prohibited, Marked : Conditionally OK.
CAUTION:
  • Check ATF, gear oil and rear differential oil before driving.
  • Place the shift lever in "N" position during towing.
  • Do not lift up the rear wheels to avoid unsteady rotation.
  • Turn the ignition key to "ACC", then check the steering wheel moves freely.
  • Release the parking brake to avoid tire dragging.
  • Since the power steering does not work, be careful for the heavy steering effort. (When engine is stopped)
  • Since the servo brake does not work, be careful that the brake is not applied effectively. (When engine is stopped)
  • In case of the malfunction of internal transmission or drive system, lift up four wheels (on a trailer) for towing.