LEMON Manuals: Even more car manuals for everyone: 1960-2025
Home >> Subaru >> 2008 >> Outback Base, Automatic >> Repair and Diagnosis >> Transmission >> Transmission Control Systems >> A/T & M/T Control Systems >> AT Shift Lock Control System >> Wiring Diagram
April 5, 2026: LEMON Manuals is launched! Read the announcement.

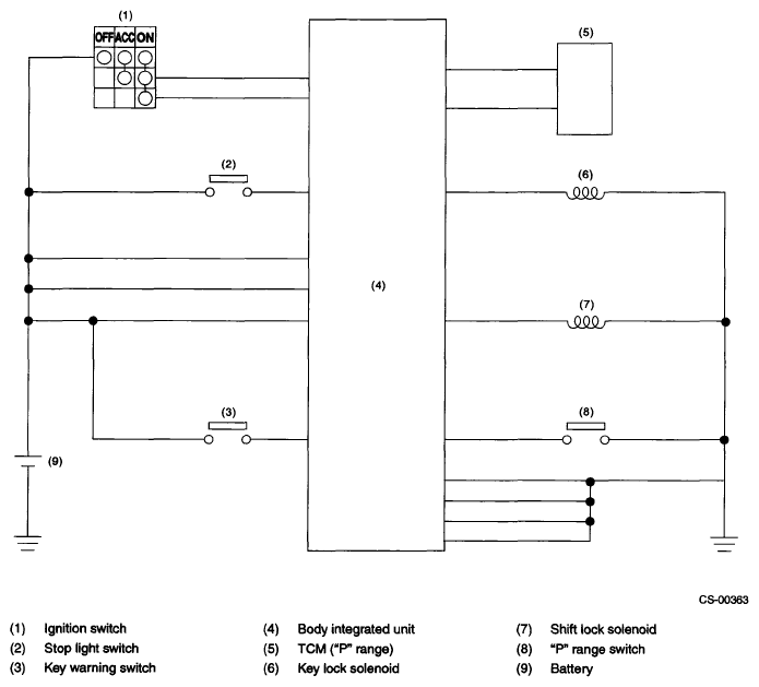
AT Shift Lock Control System: Wiring Diagram

Fig 1: Ignition Switch And Stop Light Switch - Wiring Diagram
G05666101Courtesy of SUBARU OF AMERICA, INC.