LEMON Manuals: Even more car manuals for everyone: 1960-2025
Home >> Subaru >> 2008 >> Outback Base, Standard >> Repair and Diagnosis >> Steering >> Manual Steering >> Mechanism & Function -- Power Steering System >> Power Steering System >> Gearbox Assembly >> Rotary Control Valve
April 5, 2026: LEMON Manuals is launched! Read the announcement.

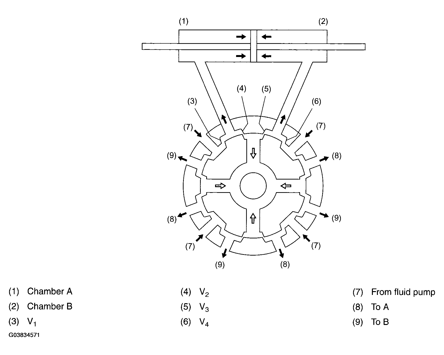
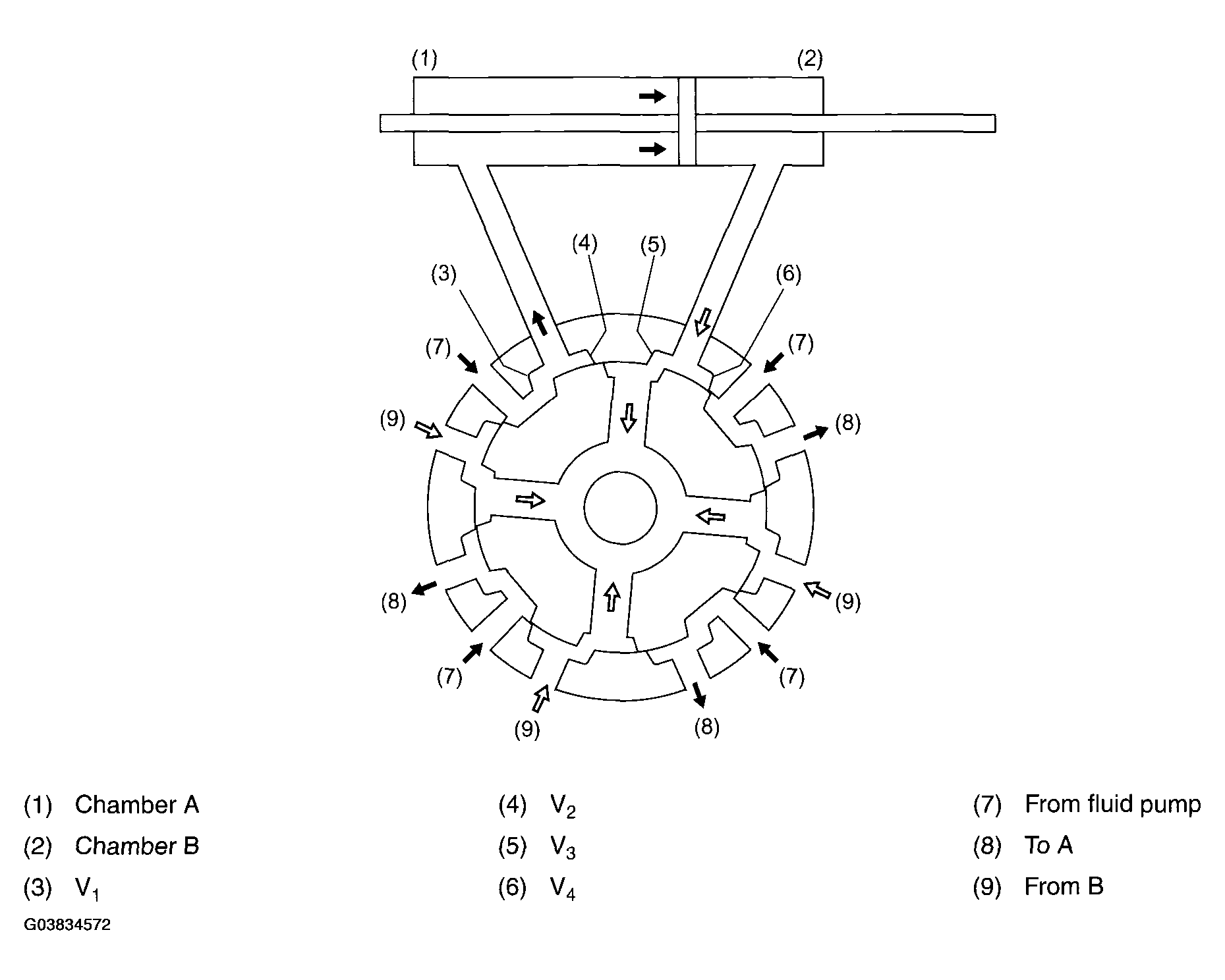
Rotary Control Valve

The rotary control valve consists of a rotor (which rotates together with the steering shaft), a pinion (which is connected to the rotor and torsion bar), and a sleeve (which rotates together with the pinion). The rotor and sleeve have grooves C and D, respectively, which form fluid passages V1 through V4 .

The pinion is in mesh with the rotor with adequate clearance, which enable the rack to be moved manually by rotating the steering shaft (fail-safe feature).

Fig 1: Identifying Rotary Control Valve Components
G03834570Courtesy of SUBARU OF AMERICA, INC.