LEMON Manuals: Even more car manuals for everyone: 1960-2025
Home >> Subaru >> 2008 >> Tribeca Base >> Repair and Diagnosis >> Engine Performance >> Engine Control Systems >> Fuel Injection System (H6DO) >> General Description >> Components With Torque Specifications >> Air Intake System
April 5, 2026: LEMON Manuals is launched! Read the announcement.

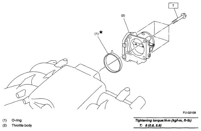
Air Intake System

Fig 1: Exploded View Of Air Intake System Replacement Components With Torque Specifications
G05667532Courtesy of SUBARU OF AMERICA, INC.