LEMON Manuals: Even more car manuals for everyone: 1960-2025
Home >> Subaru >> 2009 >> Outback F4-2.5L SOHC >> Repair and Diagnosis >> Specifications >> Mechanical Specifications >> Engine >> Cylinder Block Assembly >> System Specifications
April 5, 2026: LEMON Manuals is launched! Read the announcement.

System Specifications

Cylinder block
Surface warping limit (mating with cylinder head) 0.025 mm (0.00098 in)
Grinding limit 0.1 mm (0.004 in)
Standard height 201.0 mm (7.91 in)
Cylinder inner diameter
Standard
A 99.505 - 99.515 mm (3.9175 - 3.9179 in)
B 99.495 - 99.505 mm (3.9171 - 3.9175 in)
Taper Standard 0.015 mm (0.0006 in)
Out-of-roundness Standard 0.010 mm (0.0004 in)
Piston clearance Standard -0.010 - 0.010 mm (-0.00039 - 0.00039 in)
Cylinder inner diameter boring limit To 100.005 mm (3.9372 in)

Piston
Outer diameter
Standard
A 99.505 - 99.515 mm (3.9175 - 3.9179 in)
B 99.495 - 99.505 mm (3.9171 - 3.9175 in)
0.25 mm (0.0098 in) OS 99.745 - 99.765 mm (3.9270 - 3.9277 in)
0.50 mm (0.0197 in) OS 99.995 - 100.015 mm (3.9368 - 3.9376 in)

Piston pin
Standard clearance 0.004 - 0.008 mm (0.0002 - 0.0003 in)
Degree of fit Piston pin must be fitted into position with thumb at 20 degrees C (68 degrees F).

Piston ring
Ring closed gap
Top ring Standard 0.20 - 0.35 mm (0.0079 - 0.0138 in)
Second ring Standard 0.37 - 0.52 mm (0.0146 - 0.0205 in)
Oil ring Standard 0.20 - 0.50 mm (0.0079 - 0.0197 in)
Ring groove gap
Top ring Standard 0.040 - 0.080 mm (0.0016 - 0.0031 in)
Second ring Standard 0.030 - 0.070 mm (0.0012 - 0.0028 in)

Connecting rod
Bend or twist per 100 mm (3.94 in) in length Service limit 0.10 mm (0.0039 in)
Thrust clearance Standard 0.070 - 0.330 mm (0.0028 - 0.0130 in)
Bearing of large end
Oil clearance Standard 0.016 - 0.044 mm (0.0006 - 0.0017 in)
Bearing size (Thickness at center)
Standard 1.492 - 1.501 mm (0.0587 - 0.0591 in)
0.03 mm (0.0012 in) US 1.510 - 1.513 mm (0.0594 - 0.0596 in)
0.05 mm (0.0020 in) US 1.520 - 1.523 mm (0.0598 - 0.0600 in)
0.25 mm (0.0098 in) US 1.620 - 1.623 mm (0.0638 - 0.0639 in)
Bushing of small end Clearance Standard 0 - 0.022 mm (0 - 0.0009 in)

Crankshaft
Bending limit 0.035 mm (0.0014 in)
Crank pin
Out-of-roundness 0.003 mm (0.0001 in)
Cylindricality 0.004 mm (0.0002 in)
Crank journal
Grinding limit To 51.750 mm (2.0374 in)
Out-of-roundness 0.005 mm (0.0002 in)
Cylindricality 0.006 mm (0.0002 in)
Grinding limit To 59.758 mm (2.3527 in)
Crank pin outer diameter
Standard 51.984 - 52.000 mm (2.0466 - 2.0472 in)
0.03 mm (0.0012 in) US 51.954 - 51.970 mm (2.0454 - 2.0461 in)
0.05 mm (0.0020 in) US 51.934 - 51.950 mm (2.0446 - 2.0453 in)
0.25 mm (0.0098 in) US 51.734 - 51.750 mm (2.0368 - 2.0374 in)
Crank journal outer diameter
Standard 59.992 - 60.008 mm (2.3619 - 2.3625 in)
0.03 mm (0.0012 in) US 59.962 - 59.978 mm (2.3607 - 2.3613 in)
0.05 mm (0.0020 in) US 59.942 - 59.958 mm (2.3599 - 2.3605 in)
0.25 mm (0.0098 in) US 59.742 - 59.758 mm (2.3520 - 2.3527 in)
Thrust clearance Standard 0.030 - 0.115 mm (0.0012 - 0.0045 in)
Oil clearance Standard 0.010 - 0.030 mm (0.0004 - 0.0012 in)

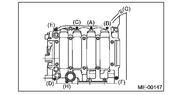
Cylinder block connecting bolts
LH side (A - D) 10 N-m (1.0 kgf-m, 7.4 ft-lb)





RH side (E - J) 10 N-m (1.0 kgf-m, 7.4 ft-lb)





LH side (A - D) 18 N-m (1.8 kgf-m, 13.3 ft-lb)





RH side (E - J) 18 N-m (1.8 kgf-m, 13.3 ft-lb)





LH side (A - D)
(A), (C) Angle tightening 90 degrees
(B), (D) Torque tightening 40 N-m (4.1 kgf-m, 29.5 ft-lb)





RH side (E - J) 90 degrees





LH side (A - H)
(A - G) 25 N-m (2.5 kgf-m, 18.4 ft-lb)
(H) 6.4 N-m (0.7 kgf-m, 4.7 ft-lb)





Main bearing
Bearing size (Thickness at center)
#1, #3
Standard 1.998 - 2.011 mm (0.0787 - 0.0792 in)
0.03 mm (0.0012 in) US 2.017 - 2.020 mm (0.0794 - 0.0795 in)
0.05 mm (0.0020 in) US 2.027 - 2.030 mm (0.0798 - 0.0799 in)
0.25 mm (0.0098 in) US 2.127 - 2.130 mm (0.0837 - 0.0839 in)
#2, #4, #5
Standard 2.000 - 2.013 mm (0.0787 - 0.0793 in)
0.03 mm (0.0012 in) US 2.019 - 2.022 mm (0.0795 - 0.0796 in)
0.05 mm (0.0020 in) US 2.029 - 2.032 mm (0.0799 - 0.0800 in)
0.25 mm (0.0098 in) US 12.129 - 2.132 mm (0.0838 - 0.0839 in)

Crank pulley bolt
Tighten temporarily 44 N-m (4.5 kgf-m, 32.5 ft-lb)
Tightening torque 180 N-m (18.4 kgf-m, 132.8 ft-lb)

Check that the tightening angle of the crank pulley bolt is 65 degrees or more.
If the tightening angle of crank pulley bolt is less than 65 degrees, the bolt is damaged. In this case, the bolt must be replaced.

Tighten temporarily 44 N-m (4.5 kgf-m, 32.5 ft-lb).
Tighten 65° to 75°