LEMON Manuals: Even more car manuals for everyone: 1960-2025
Home >> Subaru >> 2009 >> Outback F6-3.0L DOHC >> Repair and Diagnosis >> Specifications >> Mechanical Specifications >> Engine >> Cylinder Block Assembly >> System Specifications
April 5, 2026: LEMON Manuals is launched! Read the announcement.

System Specifications

Cylinder block
Standard height 202 mm (7.95 in)
Warping limit (Mating surface with cylinder head) Standard 0.02 mm (0.0008 in)
Cylinder inner diameter
Standard
A 89.205 - 89.215 mm (3.5120 - 3.5124 in)
B 89.195 - 89.205 mm (3.5116 - 3.5120 in)
Cylindricality Standard 0.030 mm (0.0012 in)
Out-of -roundness Standard 0.010 mm (0.0004 in)
Piston clearance Standard -0.010 - 0.010 mm (-0.0004 - 0.0004 in)
Cylinder inner diameter boring limit To 89.715 mm (3.5321 in)

Piston
Outer diameter
Standard
A 89.205 - 89.215 mm (3.5120 - 3.5124 in)
B 89.195 - 89.205 mm (3.5116 - 3.5120 in)
0.25 mm (0.0098 in) OS 89.445 - 89.465 mm (3.5215 - 3.5222 in)
0.50 mm (0.0197 in) OS 89.695 - 89.715 mm (3.5313 - 3.5321 in)
Inner diameter of piston pin hole Standard 22.000 - 22.006 mm (0.8661 - 0.8664 in)

Piston pin
Outer diameter Standard 21.994 - 22.000 mm (0.8659 - 0.8661 in)
Standard clearance between piston and piston pin 0.004 - 0.008 mm (0.0002 - 0.0003 in)

Piston ring
Ring closed gap
Top ring Standard 0.20 - 0.35 mm (0.0079 - 0.0138 in)
Second ring Standard 0.35 - 0.50 mm (0.0138 - 0.0197 in)
Oil ring Standard 0.20 - 0.60 mm (0.0079 - 0.0236 in)
Ring groove gap
Top ring Standard 0.040 - 0.080 mm (0.0016 - 0.0031 in)
Second ring Standard 0.030 - 0.070 mm (0.0012 - 0.0028 in)
Oil ring Standard 0.045 - 0.125 mm (0.0018 - 0.0049 in)

Connecting rod
Thrust clearance Standard 0.070 - 0.330 mm (0.0028 - 0.0130 in)
Bearing of large end
Oil clearance Standard 0.016 - 0.043 mm (0.0006 - 0.0017 in)
Bearing size (Thickness at center)
Standard 1.490 - 1.506 mm (0.0587 - 0.0593 in)
0.03 mm (0.0012 in) US 1.509 - 1.513 mm (0.0594 - 0.0596 in)
0.05 (0.0020) US 1.519 - 1.523 mm (0.0598 - 0.0600 in)
0.25 (0.0098) US 1.619 - 1.623 mm (0.0637 - 0.0639 in)
Bushing of small end
Clearance between piston pin and bushing Standard 0 - 0.022 mm (0 - 0.0009 in)

Crankshaft
Crank pin and crank journal
Out-of-roundness 0.005 mm (0.0002 in)
Cylindricality 0.006 mm (0.0002 in)
Crank pin outer diameter
Standard 51.984 - 52.000 mm (2.0466 - 2.0472 in)
0.03 mm (0.0012 in) US 51.954 - 51.970 mm (2.0454 - 2.0461 in)
0.05 mm (0.0020 in) US 51.934 - 51.950 mm (2.0446 - 2.0453 in)
0.25 mm (0.0098 in) US 51.734 - 51.750 mm (2.0368 - 2.0374 in)
Crank journal outer diameter
#1, #3, #5, #7
Standard 63.992 - 64.008 mm (2.5194 - 2.5200 in)
0.03 mm (0.0012 in) US 63.962 - 63.978 mm (2.5182 - 2.5188 in)
0.05 mm (0.0020 in) US 63.942 - 63.958 mm (2.5174 - 2.5180 in)
0.25 mm (0.0098 in) US 63.742 - 63.758 mm (2.5095 - 2.5102 in)
#2, #4, #6
Standard 63.992 - 64.008 mm (2.5194 - 2.5200 in)
0.03 mm (0.0012 in) US 63.962 - 63.978 mm (2.5182 - 2.5188 in)
0.05 mm (0.0020 in) US 63.942 - 63.958 mm (2.5174 - 2.5180 in)
0.25 mm (0.0098 in) US 63.742 - 63.758 mm (2.5095 - 2.5102 in)
Thrust clearance Standard 0.030 - 0.115 mm (0.0012 - 0.0045 in)
Oil clearance Standard 0.010 - 0.030 mm (0.0004 - 0.0012 in)

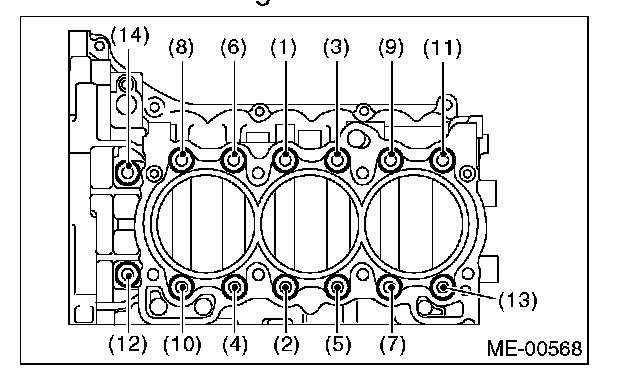
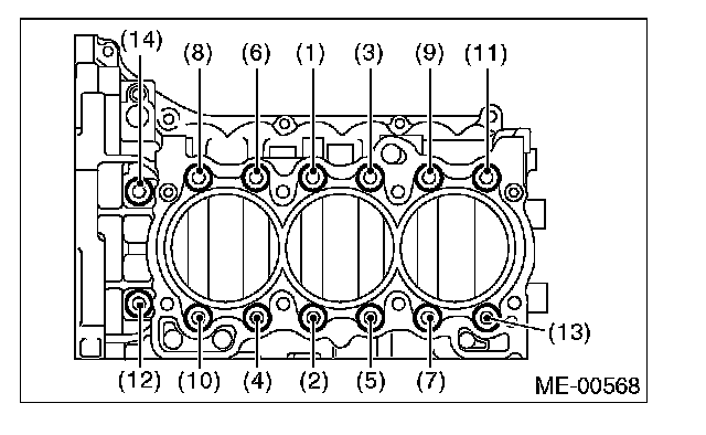
Cylinder block connecting bolts
(1) - (11), (13) 25 N-m (2.5 kgf-m, 18.4 ft-lb)
(12), (14) 20 N-m (2.0 kgf-m, 14.8 ft-lb)





Retighten
(1) - (11), (13) 25 N-m (2.5 kgf-m, 18.4 ft-lb)
(12), (14) 20 N-m (2.0 kgf-m, 14.8 ft-lb)





Tighten all bolts further 90 degrees - 110 degrees





Upper bolt to cylinder block 25 N-m (2.5 kgf-m, 18.4 ft-lb)

Main bearing
Bearing size (Thickness at center)
#1, #3, #5, #7
Standard 1.992 - 2.005 mm (0.0784 - 0.0789 in)
0.03 mm (0.0012 in) US 2.011 - 2.014 mm (0.0792 - 0.0793 in)
0.05 mm (0.0020 in) US 2.021 - 2.024 mm (0.0796 - 0.0797 in)
0.25 mm (0.0098 in) US 2.121 - 2.124 mm (0.0835 - 0.0836 in)
#2, #4, #6
Standard 1.996 - 2.009 mm (0.0786 - 0.0791 in)
0.03 mm (0.0012 in) US 2.015 - 2.018 mm (0.0793 - 0.0794 in)
0.05 mm (0.0020 in) US 2.025 - 2.028 mm (0.0797 - 0.0798 in)
0.25 mm (0.0098 in) US 2.125 - 2.128 mm (0.0837 - 0.0838 in)

Crank Pulley 178 N-m (18.1 kgf-m, 131.3 ft-lb)