LEMON Manuals: Even more car manuals for everyone: 1960-2025
Home >> Subaru >> 2011 >> Outback F6-3.6L DOHC >> Repair and Diagnosis >> Powertrain Management >> Computers and Control Systems >> Fuel Level Sensor >> Testing and Inspection >> Fuel Sub Level Sensor
April 5, 2026: LEMON Manuals is launched! Read the announcement.

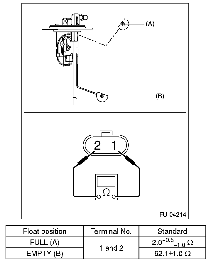
Fuel Sub Level Sensor

Fuel Sub Level Sensor

INSPECTION

1. Check that the fuel sub level sensor has no damage.
2. Measure the fuel sub level sensor float position.






3. Measure the resistance between fuel sub level sensor terminals.