LEMON Manuals: Even more car manuals for everyone: 1960-2025
Home >> Subaru >> 2011 >> Outback R >> Repair and Diagnosis >> Engine Performance >> Engine Control Systems >> Fuel Injection Fuel Systems (H6DO) >> Fuel Sub Level Sensor >> Inspection
April 5, 2026: LEMON Manuals is launched! Read the announcement.

Fuel Sub Level Sensor: Inspection

  1. Check that the fuel sub level sensor has no damage.
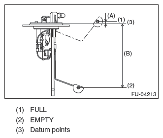
  2. Measure the fuel sub level sensor float position.
    Fig 1: Measuring Fuel Sub Level Sensor Float Position
    G07912452Courtesy of SUBARU OF AMERICA, INC.
    Float position Standard
    FULL to Datum point (A) 6.4±3.5 mm (0.252±0.138 in)
    EMPTY to Datum point (B) 163.3±3.5 mm (6.429±0.138 in)
  3. Measure the resistance between fuel sub level sensor terminals.
    Fig 2: Measuring Resistance Between Fuel Sub Level Sensor Terminals
    G06344829Courtesy of SUBARU OF AMERICA, INC.
Float position Terminal No. Standard
FULL (A) 1 and 2 2.0+0.5-1.0 Ω
EMPTY (B) 62.1±1.0 Ω