LEMON Manuals: Even more car manuals for everyone: 1960-2025
Home >> Subaru >> 2011 >> Outback Sport F4-2.5L SOHC >> Repair and Diagnosis >> Powertrain Management >> Computers and Control Systems >> Fuel Level Sensor >> Service and Repair >> Fuel Sub Level Sensor
April 5, 2026: LEMON Manuals is launched! Read the announcement.

Fuel Sub Level Sensor

Fuel Sub Level Sensor

REMOVAL

WARNING: Place "NO OPEN FLAMES" signs near the working area.

CAUTION:
- Be careful not to spill fuel.
- If the fuel gauge indicates that two thirds or more of the fuel is remaining, be sure to drain fuel before starting work to avoid the fuel to spill.


1. Release the fuel pressure.
2. Drain fuel.
3. Disconnect the ground cable from battery.






4. Remove the rear seat cushion.
5. Remove the service hole cover.






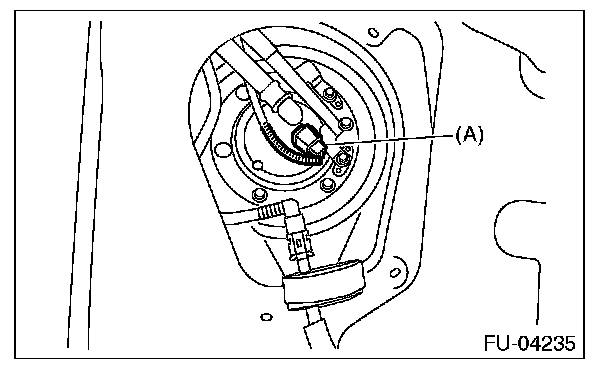
6. Disconnect connector (A) from fuel sub level sensor.






7. Disconnect the quick connector of fuel delivery tube (A) and jet pump tube (B).
8. Remove the rubber cap (C) from the nut.






9. Remove the bolts and nuts which hold fuel sub level sensor protector and fuel sub level sensor upper plate to the fuel tank.










10. Remove the fuel sub level sensor.

INSTALLATION
Install in the reverse order of removal while being careful of the following.

- Make sure the sealing portion is free from fuel or foreign matter before installation.
- Align protrusion (A) of the gasket to the position shown in the following figure.
- Align protrusion (B) of the fuel sub level sensor to the cutout in the fuel sub level sensor upper plate.
- Tighten the nuts and bolts to the specified torque in the order as shown in the figure.
- After tightening, install the rubber cap (C) at the position shown in the figure.

NOTE:
- Use a new gasket.
- Do not forget to install rubber cap (C).

Tightening torque: 4.4 N.m (0.4 kgf.m, 3.2 ft.lb)