LEMON Manuals: Even more car manuals for everyone: 1960-2025
Home >> Subaru >> 2012 >> Forester X, Automatic Trans >> Repair and Diagnosis >> Engine Performance >> Engine Control Systems >> Fuel Injection System - Fuel Injection (H4DO) >> Fuel Level Sensor >> Inspection
April 5, 2026: LEMON Manuals is launched! Read the announcement.

Fuel Level Sensor: Inspection

  1. Check that the fuel level sensor has no damage.
  2. Measure the fuel level sensor float position.
    NOTE: When inspecting the fuel level sensor, perform the work with the sensor installed to the fuel pump.
    Fig 1: Distance Between Fuel Tank Seating Surface To Full And Empty Level Of Fuel
    G07664857Courtesy of SUBARU OF AMERICA, INC.
    FLOATING POSITION REFERENCE CHART

    Float position Standard
    FULL to Fuel tank seating surface (A) 126.4±4 mm (4.976±0.157 in)
    EMPTY to Fuel tank seating surface (B) 11.0±4 mm (0.433±0.157 in)
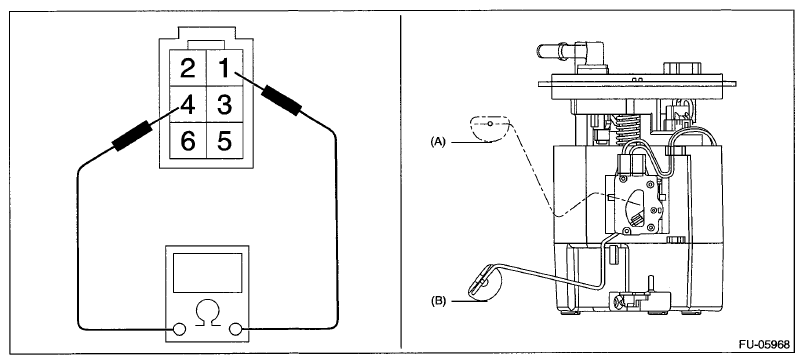
  3. Measure the resistance between fuel level sensor terminals.
    Fig 2: Measuring Resistance Between Fuel Level Sensor Terminals
    G07664858Courtesy of SUBARU OF AMERICA, INC.
    TERMINAL RESISTANCE REFERENCE CHART

    Float position Terminal No. Standard
    FULL (A) 1 and 4 2.0+0.5-1.0 Ω
    EMPTY (B) 31.9 ± 1.0 Ω