LEMON Manuals: Even more car manuals for everyone: 1960-2025
Home >> Subaru >> 2012 >> Forester X, Automatic Trans >> Repair and Diagnosis >> Engine Performance >> Engine Control Systems >> Fuel Injection System - Fuel Injection (H4DO) >> Fuel Level Sensor >> Removal
April 5, 2026: LEMON Manuals is launched! Read the announcement.

Fuel Level Sensor: Removal

WARNING: Place "NO OPEN FLAMES" signs near the working area.
CAUTION:
  • Be careful not to spill fuel.
  • If the fuel gauge indicates that two thirds or more of the fuel is remaining, be sure to drain fuel before starting work to avoid the fuel to spill.
NOTE: The fuel level sensor is built in fuel pump assembly.
  1. Remove the fuel pump assembly. < Ref. to REMOVAL , Fuel Pump. >
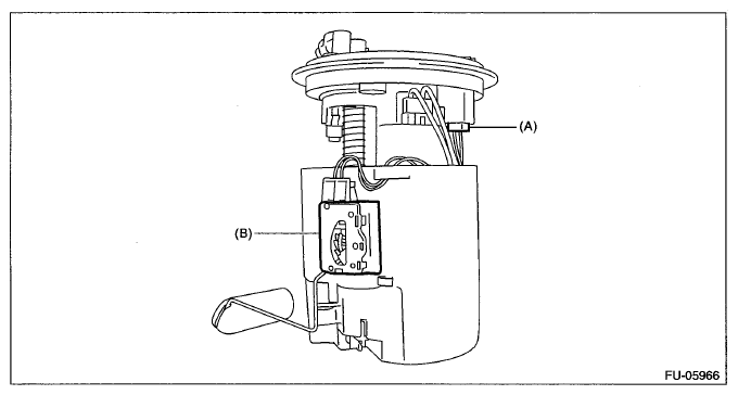
  2. Disconnect the connector (A) from fuel level sensor.
  3. Remove the fuel level sensor (B).
    Fig 1: Fuel Level Sensor And Connector
    G07664856Courtesy of SUBARU OF AMERICA, INC.