LEMON Manuals: Even more car manuals for everyone: 1960-2025
Home >> Subaru >> 2012 >> Forester X, Automatic Trans >> Repair and Diagnosis >> Maintenance >> Procedures >> General Information >> Note >> Lift And Jack >> Notes
April 5, 2026: LEMON Manuals is launched! Read the announcement.

Lift And Jack: Notes

When using a lift or shop jack to raise a vehicle or using rigid rack to support a vehicle, always follow instructions concerning jack-up points and weight limits to prevent the vehicle from falling, which could result in injury. Be especially careful that the vehicle is balanced before raising it. Be sure to set the wheel stoppers when jacking-up only the front or rear side of the vehicle.

CAUTION:
  • When the side sill spoiler interferes with the lift arm, a grooveless attachment can be used. In this case, perform the operation carefully because the dislocation from the side sill flange may occur.
  • Make sure to use the spacer or attachment and jack up at the jack-up point so that the lift does not contact the side sill spoiler.
NOTE:
  • When using a lift, follow its operation manual.
  • When using, insert the body flange to the attachment groove.
  • When the side sill spoiler contacts the lift arm, use a lift attachment.
  • Do not work or leave unattended while the vehicle is supported with jack, support it with rigid racks.
  • Be sure to use the rigid racks with rubber attached to cradle to support the vehicle.
  • When using a plate lift, use a rubber attachment.
    Fig 1: Rubber Attachment Dimensions
    G07664467Courtesy of SUBARU OF AMERICA, INC.
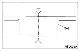
  • When using an attachment, align the center of attachment (A) with the center of vehicle cutout portion (the center of spoiler cutout portion).
    Fig 2: Alignment Position Of Rubber Attachment
    G07664468Courtesy of SUBARU OF AMERICA, INC.
  • Do not use the plate lift whose attachment does not reach the supporting locations.