LEMON Manuals: Even more car manuals for everyone: 1960-2025
Home >> Subaru >> 2012 >> Forester XT Touring >> Repair and Diagnosis >> Engine Performance >> Engine Control Systems >> Fuel Injection System - Mechanism & Function (H4DOTC) >> Fuel System >> General
April 5, 2026: LEMON Manuals is launched! Read the announcement.

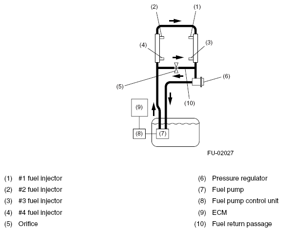
Fuel System: General