LEMON Manuals: Even more car manuals for everyone: 1960-2025
Home >> Subaru >> 2012 >> Outback Base, Standard Trans >> Repair and Diagnosis >> External Pages >> Different car >> Section 43 (Power Steering System) >> Pipe Assembly >> Removal
April 5, 2026: LEMON Manuals is launched! Read the announcement.

Pipe Assembly: Removal

WARNING: This page is about a different car, the 2011 Subaru Tribeca. However, it is still accessible from the selected car via links, so may be relevant.
  1. Disconnect the ground cable from battery.
  2. Lift up the vehicle, and then remove the front crossmember support plate and jack-up plate.
    Fig 1: Identifying Front Crossmember Support Plate And Jack-Up Plate
    G07926283Courtesy of SUBARU OF AMERICA, INC.
  3. Remove the one pipe joint at the center of the gearbox, and connect the vinyl hose to the pipe and the joint. Discharge the fluid by turning the steering wheel fully clockwise and counterclockwise. Discharge the fluid similarly from other pipes.
    Fig 2: Locating Pipe A And B Joints
    G07926284Courtesy of SUBARU OF AMERICA, INC.
  4. Remove the clamp E from return hose and pressure hose.
    Fig 3: Identifying Clamp E, Return Hose And Pressure Hose
    G07926285Courtesy of SUBARU OF AMERICA, INC.
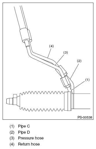
  5. Disconnect the pipe D from return hose and pipe C from pressure hose.
    Fig 4: Identifying Pipe D, Return Hose, Pipe C And Pressure Hose
    G07926286Courtesy of SUBARU OF AMERICA, INC.
  6. Remove the air intake duct. Refer to AIR INTAKE DUCT REMOVAL, Air Intake Duct.
  7. Disconnect the suction hose and pressure hose from oil pump.
    Fig 5: Identifying Suction Hose And Pressure Hose
    G07926287Courtesy of SUBARU OF AMERICA, INC.
  8. Disconnect the suction hose and return hose from the reservoir tank.
    Fig 6: Identifying Suction Hose, Return Hose And Reservoir Tank
    G07926288Courtesy of SUBARU OF AMERICA, INC.
  9. Remove the oil cooler pipe.
    Fig 7: Locating Oil Cooler Pipe
    G05032988Courtesy of SUBARU OF AMERICA, INC.
  10. Remove the hose bracket and take out the hose assembly from vehicle.
Fig 8: Locating Hose Bracket And Hose Assembly
G07926290Courtesy of SUBARU OF AMERICA, INC.