LEMON Manuals: Even more car manuals for everyone: 1960-2025
Home >> Subaru >> 2012 >> Outback Base, Standard Trans >> Repair and Diagnosis >> Suspension >> Wheel Alignment >> Front Suspension >> Front Strut >> Disposal
April 5, 2026: LEMON Manuals is launched! Read the announcement.

Front Strut: Disposal

CAUTION:
  • Before handling struts, be sure to wear goggles to protect eyes from gas, oil and cutting powder.
  • Do not disassemble the strut damper or throw into flames.
  • When discarding gas filled struts, drill holes in them to purge the gas.
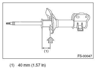
  1. Place the strut on a level surface with the piston rod fully expanded.
  2. Using a 2 - 3 mm (0.08 - 0.12 in) dia. drill, make holes in areas shown in the figure.
    Fig 1: Identifying Hole Drilling Dimension
    G07913996Courtesy of SUBARU OF AMERICA, INC.