LEMON Manuals: Even more car manuals for everyone: 1960-2025
Home >> Subaru >> 2012 >> Outback F4-2.5L SOHC >> Repair and Diagnosis >> Diagrams >> Exploded Views >> Exhaust System
April 5, 2026: LEMON Manuals is launched! Read the announcement.

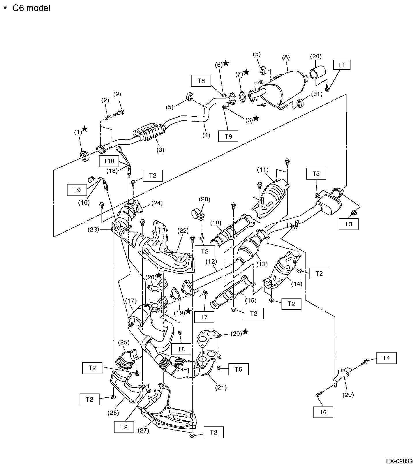
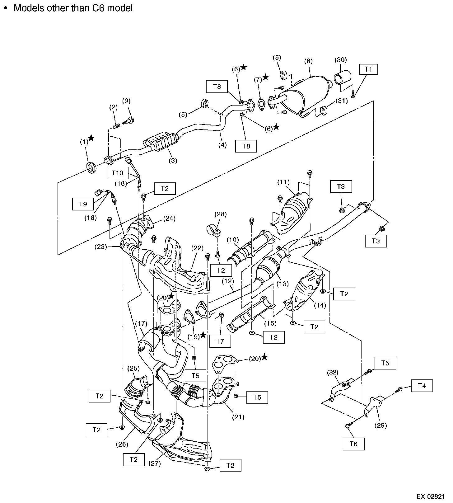
Exhaust System

COMPONENT

^ Models other than C6 model





^ C6 model