LEMON Manuals: Even more car manuals for everyone: 1960-2025
Home >> Subaru >> 2012 >> Outback F6-3.6L DOHC >> Repair and Diagnosis >> Starting and Charging >> Charging System >> Alternator >> Service and Repair
April 5, 2026: LEMON Manuals is launched! Read the announcement.

Alternator: Service and Repair

Generator

DISASSEMBLY

3.6 L MODEL

1. Remove the four through-bolts.






2. Use a drier to heat the rear cover (A) portion to 50 - 60 °C (122-140 °F).






3. Insert the end of a flat tip screwdriver into the gap between stator core and front cover. Pry them apart to disassemble.






4. Using a vise, support the rotor and remove the pulley nut, then remove the rotor from the front cover.

CAUTION: When holding the rotor with a vise, place aluminum plates or wooden pieces on the vise jaws to prevent rotor from damage.










5. Use the following procedures to remove the ball bearings.
1. Remove the bolt, and then detach the bearing retainer.






2. Firmly attach an appropriate tool (such as a correct size socket wrench) to the bearing inner race.






3. Use the press to push the ball bearings out from the front cover.

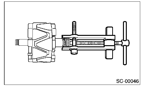
6. Using the bearing puller, remove the bearings from the rotor.






7. Remove six bolts between the rectifier and stator coil, then remove the stator coil.






8. Remove four screws which secure the IC regulator to the rear cover, then remove the IC regulator.






9. Use the following procedures to remove the brush.
1. Remove the cover A.






2. Remove the cover B.






3. Disconnect the connection and remove the brush.






10. Remove the rectifier as follows.
1. Remove the cover on terminal B.






2. Remove the nut on terminal B.






3. Remove the bolts which secure the rectifier, and remove the rectifier.






ASSEMBLY

Assemble in the reverse order of disassembly.

NOTE:
- Refer to component for tightening torque of each part.
- After assembling, manually turn the pulley to check that the rotor rotates smoothly.

1. Push of the brush
Before assembling the front and rear parts, press the brush down into the brush holder, then fix the brush in that position by inserting a [1 mm (0.08 in) dia., 40 - 50 mm (1.6 - 2.0 in) long] wire through the hole as shown in the figure.

CAUTION: After re-assembling, remove the wire.






2. Install the ball bearings.
1. Set the ball bearings in the front cover, then securely install an appropriate tool (such as a socket wrench of proper size) to the bearing outer race.
2. Using a press to press the ball bearings into the specified location.
3. Install the bearing retainer.

3. Use a press to install the bearings (rear side) to the rotor shaft.
4. Heat the bearing box in rear cover to 50 - 60 °C (122 - 140 °F), and then press the rear bearing into rear cover.

CAUTION: Do not apply grease to the rear bearings. If there is any oil on the bearing box, remove it completely.