LEMON Manuals: Even more car manuals for everyone: 1960-2025
Home >> Subaru >> 2012 >> Outback R >> Repair and Diagnosis >> Transmission >> Automatic Trans >> Automatic Transmission >> Automatic Transmission Assembly >> Installation
April 5, 2026: LEMON Manuals is launched! Read the announcement.

Automatic Transmission Assembly: Installation

  1. Replace the front differential side retainer oil seal.
    1. Remove the oil seal by using flat tip screwdriver etc.
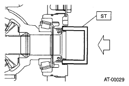
    2. Using the ST, install the oil seal by lightly tapping with a plastic hammer.
      NOTE:
      • Use a new oil seal.
      • Check the identification marks (L, R) during installation not to mix up the oil seal RH and LH.
      • Apply gear oil to the oil seal lips.
      • Be sure to replace the differential side retainer oil seal whenever the front drive shaft is removed from the transmission.

      ST 18675AA000 DIFFERENTIAL SIDE OIL SEAL INSTALLER

      Fig 1: Installing Oil Seal Using Differential Side Oil Seal Installer
      G05002510Courtesy of SUBARU OF AMERICA, INC.
  2. Attach the ST to converter case.

    ST 498277200 STOPPER SET

    Fig 2: Attaching ST To Converter Case
    G05002491Courtesy of SUBARU OF AMERICA, INC.
  3. Install the cushion rubber on the transmission.

    Tightening torque: 

    40 N.m (4.1 kgf-m, 29.5 ft-lb) 

  4. Tap the transmission hanger in the rear side of transmission with a rubber hammer to bend it until it is in close contact with the transmission case.
    CAUTION: Do not apply excessive load or impact to the transmission case.
    Fig 3: Tapping Transmission Hanger In Rear Side Of Transmission
    G06651972Courtesy of SUBARU OF AMERICA, INC.
  5. While lifting up the transmission gradually using transmission jack, install the transmission to the engine.
    CAUTION: This operation requires at least two persons.
    NOTE: Keep the engine level.
  6. Install the engine mounting bolt and nut (lower side).

    Tightening torque: 

    50 N.m (5.1 kgf-m, 36.9 ft-lb) 

    Fig 4: Locating Engine Mounting Bolt And Nut
    G06651968Courtesy of SUBARU OF AMERICA, INC.
  7. Install the transmission rear crossmember.

    Tightening torque: 

    T1: 35 N.m (3.6 kgf-m, 25.8 ft-lb) 

    T2: 75 N.m (7.6 kgf-m, 55.3 ft-lb) 

    Fig 5: Transmission Rear Crossmember With Torque Specifications
    G07914743Courtesy of SUBARU OF AMERICA, INC.
  8. Remove the transmission jack.
  9. Lower the vehicle.
  10. Install the engine mounting bolt (upper side).

    Tightening torque: 

    50 N.m (5.1 kgf-m, 36.9 ft-lb) 

    Fig 6: Locating Engine Mounting Bolt (Upper Side)
    G06651965Courtesy of SUBARU OF AMERICA, INC.
  11. Remove the ST (ENGINE HANGER).
  12. Install the transmission main mounting bracket.
    NOTE: Install to the left side of vehicle first.

    Tightening torque: 

    75 N.m (7.6 kgf-m, 55.3 ft-lb) 

    Fig 7: Locating Transmission Main Mounting Bracket Bolts
    G06651964Courtesy of SUBARU OF AMERICA, INC.
  13. Attach the ST (ENGINE HANGER) again.
  14. Remove the ST and install the front cushion rubber.
    1. Lift up the radiator approximately by 30 mm and keep the position with cloth or other material placed under the radiator.
      Fig 8: Identifying Cloth Placed Under Radiator
      G07914746Courtesy of SUBARU OF AMERICA, INC.
    2. Remove the bolts from ST (SPECIAL TOOL H6).
      Fig 9: Locating Transmission Mounting Bracket Mounting Stud Bolt
      G07914733Courtesy of SUBARU OF AMERICA, INC.
    3. Remove the bolt and nut to remove ST (SPECIAL TOOL H6).
    4. Temporarily attach the front cushion rubber with bolts.
      Fig 10: Locating Engine Mounting Bolts
      G07914731Courtesy of SUBARU OF AMERICA, INC.
    5. Install the bolt and nut to the front engine mounting.
      NOTE: Always start tightening from the bolts on the engine side.

      Tightening torque: 

      T1: 25 N.m (2.5 kgf-m, 18.4 ft-lb) 

      T2: 45 N.m (4.6 kgf-m, 33.2 ft-lb) 

      Fig 11: Identifying Front Engine Mounting Bolt And Nut
      G06651977Courtesy of SUBARU OF AMERICA, INC.
    6. Insert the lower radiator pin into the radiator lower cushion on the vehicle side, and install the radiator upper bracket.

      Tightening torque: 

      12 N.m (1.2 kgf-m, 8.9 ft-lb) 

      Fig 12: Locating Radiator Upper Brackets
      G06651509Courtesy of SUBARU OF AMERICA, INC.
  15. Remove the ST from the vehicle.
  16. Tighten the nuts connecting the engine mounting and the transmission main mounting bracket.

    Tightening torque: 

    45 N.m (4.6 kgf-m, 33.2 ft-lb) 

    Fig 13: Locating Engine Mounting And Transmission Main Mounting Bracket Nuts
    G06651957Courtesy of SUBARU OF AMERICA, INC.
  17. Remove the ST from converter case.
  18. Install the torque converter to drive plate.
    CAUTION:
    • Be careful not to drop bolts into converter housing.
    • Be careful not to damage the mounting bolts.
    1. Install the bolts which connect the torque converter and drive plate.
    2. Install all four bolts by rotating the crank pulley a little at a time.
    3. Install the service hole plug.

      Tightening torque: 

      25 N.m (2.5 kgf-m, 18.4 ft-lb) 

      Fig 14: Identifying Starter Installation Hole
      G06651948Courtesy of SUBARU OF AMERICA, INC.
  19. Install the starter. Refer to STARTER .
  20. Lift up the vehicle.
  21. Set the ST to side retainer.

    ST 28399SA010 OIL SEAL PROTECTOR

    Fig 15: Positioning Oil Seal Protector To Side Retainer
    G05002499Courtesy of SUBARU OF AMERICA, INC.
  22. Install the front drive shaft into the transmission. Refer to FRONT DRIVE SHAFT .
  23. Connect the ATF cooler inlet and outlet hose to the ATF cooler inlet and outlet pipe.
    Fig 16: Identifying ATF Cooler Inlet And Outlet Hose
    G06651956Courtesy of SUBARU OF AMERICA, INC.
  24. Insert the ball joint into housing. Refer to FRONT BALL JOINT .
  25. Install the front stabilizer bracket. Refer to FRONT STABILIZER .
  26. Install the propeller shaft. Refer to PROPELLER SHAFT .
  27. Install the select cable. Refer to SELECT CABLE .
  28. Rotate the turbine speed sensor 1 by 180° and then restore it to the original position to install. Then, connect the connector.

    Tightening torque: 

    7 N.m (0.7 kgf-m, 5.2 ft-lb) 

    Fig 17: Rotating Turbine Speed Sensor
    G06651984Courtesy of SUBARU OF AMERICA, INC.
  29. Install the oil charge pipe.
    NOTE: Use new gaskets and O-rings.

    Tightening torque: 

    38 N.m (3.9 kgf-m, 28.0 ft-lb) 

    Fig 18: Installing Oil Charge Pipe
    G06651953Courtesy of SUBARU OF AMERICA, INC.
  30. Install the steering shaft universal joint. Refer to UNIVERSAL JOINT .
  31. Install the heat shield cover. Refer to HEAT SHIELD COVER .
  32. Install the front and rear exhaust pipe. Refer to FRONT EXHAUST PIPE . Refer to REAR EXHAUST PIPE .
  33. Install the under cover. Refer to FRONT UNDER COVER .
  34. Lower the vehicle.
  35. Remove the ST and install the engine hanger rear.

    Tightening torque: 

    19 N.m (1.9 kgf-m, 14.0 ft-lb) 

    Fig 19: Attaching ST To Engine
    G07914757Courtesy of SUBARU OF AMERICA, INC.
  36. Connect the following connectors.
    Fig 20: Identifying Transmission Harness Connectors And Front Oxygen (A/F) Sensor
    G07914758Courtesy of SUBARU OF AMERICA, INC.
  37. Install the transmission radio ground terminal.

    Tightening torque: 

    13 N.m (1.3 kgf-m, 9.6 ft-lb) 

    Fig 21: Identifying Transmission Radio Ground Terminal
    G06651946Courtesy of SUBARU OF AMERICA, INC.
  38. Pour ATF from the oil charge pipe. Refer to , AUTOMATIC TRANSMISSION FLUID .
  39. Install the air breather hose. Refer to , INSTALLATION , Air Breather Hose.
  40. Install the air intake boot. Refer to AIR INTAKE BOOT .
  41. Attach the grille bracket.
    Fig 22: Locating Grille Bracket
    G06651507Courtesy of SUBARU OF AMERICA, INC.
  42. Install the air intake duct. Refer to AIR INTAKE DUCT .
  43. Install the collector cover.
  44. Connect the battery ground terminal.
  45. Check the ATF level. Refer to , INSPECTION , Automatic Transmission Fluid.
  46. Perform Clear Memories 2 operation. Refer to CLEAR MEMORY MODE .
  47. Perform the diagnosis again. Refer to LEARNING CONTROL .
  48. Perform the inspection at the end of repair work, and make sure there is no faulty as below;
    • Excessive shift shock
    • Oil leakage from the transmission body, etc.
    • Occurrence of noise caused by interference etc.