LEMON Manuals: Even more car manuals for everyone: 1960-2025
Home >> Subaru >> 2013 >> BRZ Limited, Automatic Trans >> Repair and Diagnosis >> Engine Performance >> Engine Control Systems >> Engine Control System (Service Information) >> Relay >> Unit inspection
April 5, 2026: LEMON Manuals is launched! Read the announcement.

Unit inspection

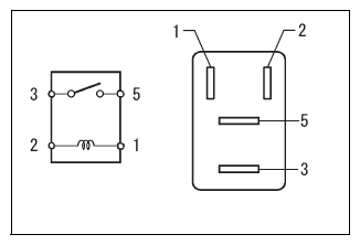
  1. Inspection of IG2 relay (IG2)
    1. Measure the resistance between the terminals.
      RESISTANCE

      Inspection terminals Inspection conditions Standard value
      3 - 5 When the battery voltage is not applied to the terminal 1 and terminal 2: 10 k Ωor more
      3 - 5 When the battery voltage is applied to the terminal 1 and terminal 2: Less than 1 Ω
      Fig 1: Identifying IG2 Relay Terminals
      G08554065Courtesy of SUBARU OF AMERICA, INC.
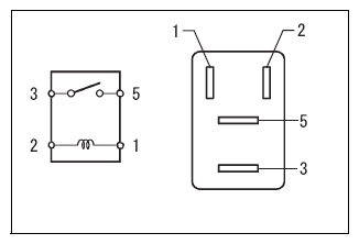
  2. Inspection of EFI relay (EFI MAIN1)
    1. Measure the resistance between the terminals.
      RESISTANCE

      Inspection terminals Inspection conditions Standard value
      3 - 5 When the battery voltage is not applied to the terminal 1 and terminal 2: 10 k Ωor more
      3 - 5 When the battery voltage is applied to the terminal 1 and terminal 2: Less than 1 Ω
      Fig 2: Identifying EFI Relay Terminals (EFI Main 1)
      G08554066Courtesy of SUBARU OF AMERICA, INC.
  3. Inspection of EFI relay (EFI MAIN2)
    1. Measure the resistance between the terminals.
      RESISTANCE

      Inspection terminals Inspection conditions Standard value
      3 - 5 When the battery voltage is not applied to the terminal 1 and terminal 2: 10 k Ωor more
      3 - 5 When the battery voltage is applied to the terminal 1 and terminal 2: Less than 1 Ω
      Fig 3: Identifying EFI Relay Terminals (EFI Main 2)
      G08554067Courtesy of SUBARU OF AMERICA, INC.
  4. Inspection of EFI relay (EFI MAIN3)
    1. Measure the resistance between the terminals.
      Fig 4: Identifying EFI Relay Terminals (EFI Main 3)
      G08554068Courtesy of SUBARU OF AMERICA, INC.
      RESISTANCE

      Inspection terminals Inspection conditions Standard value
      3 - 5 When the battery voltage is not applied to the terminal 1 and terminal 2: 10 k Ωor more
      3 - 5 When the battery voltage is applied to the terminal 1 and terminal 2: Less than 1 Ω
  5. Inspection of INJ relay (INJ)
    1. Measure the resistance between the terminals.
      RESISTANCE

      Inspection terminals Inspection conditions Standard value
      3 - 5 When the battery voltage is not applied to the terminal 1 and terminal 2: 10 k Ωor more
      3 - 5 When the battery voltage is applied to the terminal 1 and terminal 2: Less than 1 Ω
      Fig 5: Identifying INJ Relay Terminals
      G08554069Courtesy of SUBARU OF AMERICA, INC.
  6. Inspection of ETCS relay (ETCS)
    1. Measure the resistance between the terminals.
      RESISTANCE

      Inspection terminals Inspection conditions Standard value
      3 - 5 When the battery voltage is not applied to the terminal 1 and terminal 2: 10 k Ωor more
      3 - 5 When the battery voltage is applied to the terminal 1 and terminal 2: Less than 1 Ω
      Fig 6: Identifying ETCS Relay Terminals
      G08554070Courtesy of SUBARU OF AMERICA, INC.
  7. Inspection of F/PMP relay (C/OPEN)
    1. Measure the resistance between the terminals.
      RESISTANCE

      Inspection terminals Inspection conditions Standard value
      3 - 5 When the battery voltage is not applied to the terminal 1 and terminal 2: 10 k Ωor more
      3 - 5 When the battery voltage is applied to the terminal 1 and terminal 2: Less than 1 Ω
      Fig 7: Identifying F/PMP Relay Terminals (C/Open)
      G08554071Courtesy of SUBARU OF AMERICA, INC.