LEMON Manuals: Even more car manuals for everyone: 1960-2025
Home >> Subaru >> 2013 >> Legacy Base, Standard Trans >> Repair and Diagnosis >> Engine Performance >> Engine Control Systems >> Fuel Injection System (H4DO) >> Fuel Level Sensor >> Removal
April 5, 2026: LEMON Manuals is launched! Read the announcement.

Fuel Level Sensor: Removal

WARNING: Place "NO OPEN FLAMES" signs near the working area.
CAUTION:
  • Be careful not to spill fuel.
  • If the fuel gauge indicates that two thirds or more of the fuel is remaining, be sure to drain fuel before starting work to avoid the fuel to spill.
NOTE: The fuel level sensor is built in fuel pump assembly.
  1. Remove the fuel pump assembly. Refer to REMOVAL .
  2. Disconnect the fuel level sensor connector.
    Fig 1: Locating Fuel Level Sensor Connector
    G08579814Courtesy of SUBARU OF AMERICA, INC.
  3. Remove the harness from the claw of fuel chamber assembly.
    Fig 2: Locating Fuel Chamber Assembly Claw
    G08579815Courtesy of SUBARU OF AMERICA, INC.
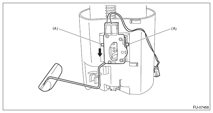
  4. Press two claws (A) of the fuel level sensor, and slide the fuel level sensor in the direction of the arrow to remove the fuel level sensor.
    Fig 3: Identifying Fuel Level Sensor Claws
    G08579816Courtesy of SUBARU OF AMERICA, INC.