LEMON Manuals: Even more car manuals for everyone: 1960-2025
Home >> Subaru >> 2013 >> Outback Base, Standard Trans >> Repair and Diagnosis >> Electrical >> Wiring Diagrams >> Connector End Views >> Connector End Views >> Steering Switch Connector End View
April 5, 2026: LEMON Manuals is launched! Read the announcement.

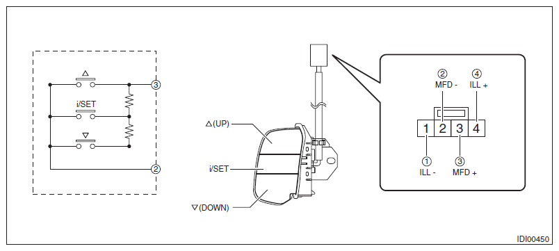
Steering Switch Connector End View

Fig 1: Steering Switch Connector End View
G08319131Courtesy of SUBARU OF AMERICA, INC.