LEMON Manuals: Even more car manuals for everyone: 1960-2025
Home >> Subaru >> 2013 >> Outback Base, Standard Trans >> Repair and Diagnosis >> Engine Performance >> Engine Control Systems >> Fuel Injection System (H4DO) >> Fuel Filler Pipe >> Installation
April 5, 2026: LEMON Manuals is launched! Read the announcement.

Fuel Filler Pipe: Installation

  1. Open the fuel filler lid.
  2. Insert the fuel filler pipe assembly into the rubber saucer from inside of the rear fender.
  3. Install the fuel filler pipe assembly to the vehicle body and connect the evaporation hose (A) to the fuel filler pipe assembly.

    Tightening torque: 

    7.5 N.m (0.8 kgf-m, 5.5 ft-lb) 

    Fig 1: Identifying Evaporation Hose With Mounting Bolts And Nuts
    G08579799Courtesy of SUBARU OF AMERICA, INC.
  4. Align the cutout on the fuel filler pipe protector and the protrusion of the neck holder and insert them all the way, and then turn the fuel filler pipe protector in the direction of the arrow until it is locked.
    Fig 2: Turning Fuel Filler Pipe Protector
    G08579801Courtesy of SUBARU OF AMERICA, INC.
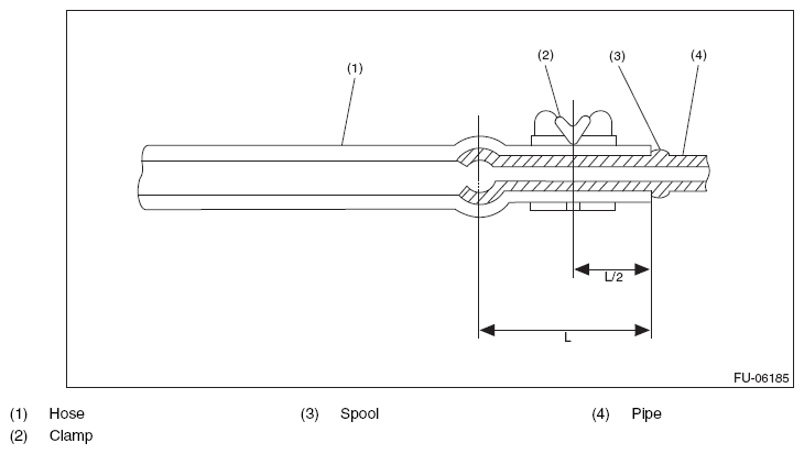
  5. Correctly insert the fuel filler hose to the spool, and then install the clamp as shown.

    Tightening torque: 

    2.5 N.m (0.3 kgf-m, 1.8 ft-lb) 

    Fig 3: Locating Fuel Filler Hose Clamp
    G08579798Courtesy of SUBARU OF AMERICA, INC.
    Fig 4: Identifying Hose, Spool, Pipe And Clamp
    G08579803Courtesy of SUBARU OF AMERICA, INC.
  6. Install the rear sub frame. Refer to INSTALLATION .
  7. Install the rear mud guard RH. Refer to INSTALLATION .
  8. Lower the vehicle.
  9. Install the rear wheel RH.

    Tightening torque: 

    120 N.m (12.2 kgf-m, 88.5 ft-lb) 

  10. Connect the battery ground terminal.
    Fig 5: Connecting Battery Ground Terminal
    G08579605Courtesy of SUBARU OF AMERICA, INC.
  11. Inspect the wheel alignment and adjust if necessary.