LEMON Manuals: Even more car manuals for everyone: 1960-2025
Home >> Subaru >> 2013 >> Outback F6-3.6L DOHC >> Repair and Diagnosis >> Specifications >> Mechanical Specifications >> Engine >> Timing Cover
April 5, 2026: LEMON Manuals is launched! Read the announcement.

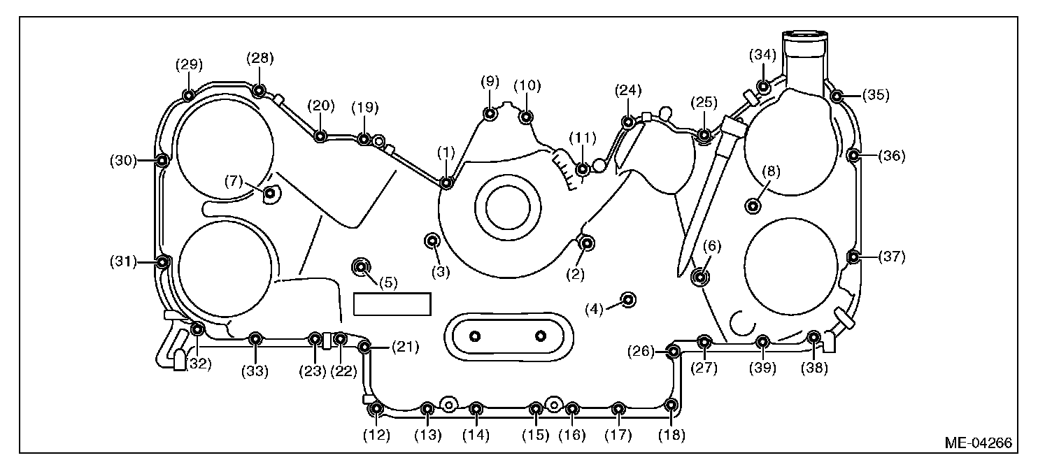
Timing Cover

Timing Chain Cover Bolts








First pass Tighten temporarily
Second pass 10 Nm (1.0 kgf-m, 7.4 ft-lb) in numerical order