LEMON Manuals: Even more car manuals for everyone: 1960-2025
Home >> Subaru >> 2013 >> Outback R >> Repair and Diagnosis >> Engine Performance >> Engine Control Systems >> Fuel Injection System (H6DO) >> Fuel Level Sensor >> Inspection
April 5, 2026: LEMON Manuals is launched! Read the announcement.

Fuel Level Sensor: Inspection

  1. Check that the fuel level sensor has no damage.
  2. Measure the fuel level sensor float position.
    NOTE: When inspecting the fuel level sensor, perform the work with the sensor installed to the fuel pump.
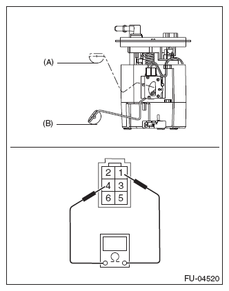
    Fig 1: Identifying Fuel Level Sensor Float Position
    G08581111Courtesy of SUBARU OF AMERICA, INC.
    Float position Standard
    FULL to Fuel tank seating surface (A) 126.4±4 mm (4.976±0.157 in)
    EMPTY to Fuel tank seating surface (B) 11.0±4 mm (0.433±0.157 in)
  3. Measure the resistance between fuel level sensor terminals.
    Fig 2: Measuring Resistance Between Fuel Level Sensor Terminals
    G08581112Courtesy of SUBARU OF AMERICA, INC.
    Float position Terminal No. Standard
    FULL (A) 1 and 4 8.7±1.0 Ω
    EMPTY (B) 139.1±2.0 Ω