LEMON Manuals: Even more car manuals for everyone: 1960-2025
Home >> Subaru >> 2014 >> BRZ Limited, Automatic Trans >> Repair and Diagnosis >> Engine Performance >> Engine Control Systems >> Fuel Injection System >> Injector Assembly (FA20/Direct Fuel Injection) >> Installation
April 5, 2026: LEMON Manuals is launched! Read the announcement.

Injector Assembly (FA20/Direct Fuel Injection): Installation

  1. Fuel injector seal installation
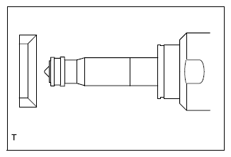
    1. Use the engine conditioner to remove the carbon on engine oil on the side surface and seal groove of injector shown in the figure.
      Fig 1: Identifying Fuel Injector Seal Cleaning Area
      G08552552Courtesy of SUBARU OF AMERICA, INC.
      CAUTION:
      • Do not clean the tip portion.
      • Do not use a wire brush etc.
      • If the tip of fuel injector assembly is bumped or dropped, replace the fuel injector assembly with a new one.
    2. Apply engine oil to the inner periphery of SST (guide) and set it on the injector so that the taper surface faces toward the tip side of injector.

      SST 09260-39020

      Fig 2: Setting SST On Injector
      G08552553Courtesy of SUBARU OF AMERICA, INC.
    3. Install a new fuel injector seal to the SST (holder).

      SST 09260-39020

      Fig 3: Identifying Proper And Improper Method For Installing Fuel Injector Seal To Holder
      G08552554Courtesy of SUBARU OF AMERICA, INC.
      CAUTION: When setting the fuel injector seal on the SST (holder), the seal is stretched and it is difficult to correct if the seal is set at an angle.
    4. Set the SST (holder) with the fuel injector seal to the tip of injector and push down the fuel injector seal with fingers to install it in the injector groove shown in the figure.

      SST 09260-39020

      Fig 4: Installing Holder In Injector Groove
      G08552555Courtesy of SUBARU OF AMERICA, INC.
      CAUTION: Make sure the fuel injector seal is completely fitted in the groove for its entire circumference.
    5. While holding the fuel injector seal (connector side) lightly with the SST (holder), pull up the SST (guide) toward the injector tip side slowly and seat the fuel injector seal in the injector groove.

      SST 09260-39020

      Fig 5: Identifying Proper And Improper Method For Installing Holder And Guide
      G08552556Courtesy of SUBARU OF AMERICA, INC.
      CAUTION: Be careful not to pinch the fuel injector seal between the SST (guide) and injector groove. If it is pinched, replace it with a new one.
    6. Pull up the SST (guide) toward the injector tip side slowly and hold the SST for 5 sec. or more when the fuel injector seal on the connector side reaches to the straight portion of SST (guide) in order to correct the fuel injector seal.

      SST 09260-39020

      Fig 6: Pulling Up Guide Toward Injector Tip Side
      G08552557Courtesy of SUBARU OF AMERICA, INC.
      CAUTION: Be careful not to pinch the fuel injector seal between the SST (guide) and injector groove. If it is pinched, replace it with a new one.
      NOTE:
      • A rough indication of the straight portion is the position where the bottom of fuel injector seal aligns with the bottom of SST (guide).
      • When the SST (guide) cannot be pulled up because it is stuck, pull up it gradually by rotating the SST (guide) to the left and right slowly.
    7. After the fuel injector seal is installed, make sure that there is no scratches on the seal, crushing of the seal, or protrusion of the seal from the seal groove.
      Fig 7: Identifying Correct And Incorrect Method For Installing Fuel Injector Seal
      G08552558Courtesy of SUBARU OF AMERICA, INC.
      CAUTION: When there is any scratches on the fuel injector seal, crushing of it, or protrusion of it from the seal groove, replace it with a new part.
  2. Fuel injector assembly installation
    CAUTION: If the tip of fuel injector assembly is bumped or dropped, replace the fuel injector assembly with a new one.
    1. Install a new back-up ring NO. 2, new fuel injector seal and new back-up ring NO. 1 as shown in the figure.
      Fig 8: Identifying Correct And Incorrect Installation Of Back-Up Rings And Fuel Injector Seal
      G08552559Courtesy of SUBARU OF AMERICA, INC.
      CAUTION:
      • There must be no foreign matter, scratches, etc. in the fuel injector seal groove of injector.
      • Be careful not to mix up the directions of back-up springs NO. 1 and NO. 2.
      • Be careful not to mix up the installation order of back-up spring and fuel injector seal.
      • There must be no running on or widening of back-up ring gap portion as shown in the figure.
      • After the installation, there must be no foreign matter, scratches, etc. in the fuel injector seal.
    2. Install a new fuel injector insulator and new O-ring.
      Fig 9: Identifying Fuel Injector Insulator And C-Ring
      G08552560Courtesy of SUBARU OF AMERICA, INC.
      CAUTION: Install the fuel injector insulator in the direction as shown in the figure.
      Fig 10: Identifying Fuel Injector Insulator
      G08552561Courtesy of SUBARU OF AMERICA, INC.
    3. Install the fuel injector holder to the fuel injector assembly.
      Fig 11: Identifying Fuel Injector Holder
      G08552562Courtesy of SUBARU OF AMERICA, INC.
    4. Apply new engine oil to the chamfered portions of injector insertion holes of the fuel delivery pipes (bank 2 side) and (bank 1 side).
    5. Align the protrusion of fuel injector holder to the arrest holes of fuel delivery pipes (bank 2 side) and (bank 1 side) to install the fuel injector holder.
      Fig 12: Aligning Protrusion Of Fuel Injector Holder To Arrest Holes Of Fuel Delivery Pipes
      G08552563Courtesy of SUBARU OF AMERICA, INC.
      CAUTION:
      • There must be no foreign matter, scratches, etc. inside the injector insertion holes of the fuel delivery pipes (bank 2 side) and (bank 1 side).
      • There must be no gasoline on the fuel injector seal and inside the attachment hole.
      • Insert the injector straight to the fuel delivery pipes (bank 2 side) and (bank 1 side) without tilting it.
      • There must be no gap between the high pressure side fuel injector pipe and fuel injector holder.
      • When replacing the fuel injector assembly, install a new assembly with the same flow stratified number.
      Fig 13: Identifying Flow Stratified Number And QR Code
      G08552564Courtesy of SUBARU OF AMERICA, INC.
  3. Fuel delivery pipe (bank 2 side) installation
    1. Install the fuel delivery pipe (bank 2 side) with the two bolts.

      Standard value: T=19N.m {194kgf.cm} {14.0ft.lbf}

    2. Connect the two fuel injector connectors.
  4. Fuel delivery pipe (bank 1 side) installation
    1. Install the fuel delivery pipe (bank 1 side) with the two bolts.

      Standard value: T=19N.m {194kgf.cm} {14.0ft.lbf}

    2. Connect the two fuel injector connectors and fuel pressure sensor connector.
  5. Fuel delivery pipe installation
    1. Temporarily install a new fuel delivery pipe.
    2. Temporarily install the fuel delivery pipe with the three bolts.
    3. Tighten the three bolts.

      Standard value: T=6.4N.m {65kgf.cm} {4.7ft.lbf}

    4. Tighten the fuel delivery pipe.

      Standard value: T=35N.m {357kgf.cm} {25.8ft.lbf}

  6. Fuel delivery pipe NO. 2 installation
    1. Temporarily install a new fuel delivery pipe NO. 2.
    2. Tighten the fuel delivery pipe NO. 2.

      Standard value: T=35N.m {357kgf.cm} {25.8ft.lbf}

  7. Intake manifold installation

    (Refer to INSTALLATION )