LEMON Manuals: Even more car manuals for everyone: 1960-2025
Home >> Subaru >> 2014 >> Tribeca >> Repair and Diagnosis >> Engine Performance >> Engine Control Systems >> Fuel Injection System >> Electronic Throttle Control Relay >> Inspection
April 5, 2026: LEMON Manuals is launched! Read the announcement.

Electronic Throttle Control Relay: Inspection

  1. Check that the electronic throttle control relay has no deformation, cracks or other damages.
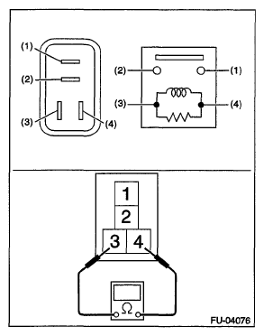
  2. Measure the resistance between electronic throttle control relay terminals.
    Fig 1: Measuring Resistance Between Electronic Throttle Control Relay Terminals 3 And 4
    G06344745Courtesy of SUBARU OF AMERICA, INC.
    Terminal No. Standard
    1 and 2 1 MΩ or more
    3 and 4 93.8 - 136.4 Ω (when 20°C (68°F))
  3. Connect battery positive terminal to terminal No. 3 and battery ground terminal to terminal No. 4, and measure the resistance between the electronic throttle control relay terminals.
    Fig 2: Measuring Resistance Between Electronic Throttle Control Relay Terminals 1 And 2
    G06344746Courtesy of SUBARU OF AMERICA, INC.
    Terminal No. Standard
    1 and 2 Less than 1 Ω