LEMON Manuals: Even more car manuals for everyone: 1960-2025
Home >> Subaru >> 2014 >> Tribeca >> Repair and Diagnosis >> Engine Performance >> Engine Control Systems >> Fuel Injection System >> Fuel Filler Pipe >> Removal
April 5, 2026: LEMON Manuals is launched! Read the announcement.

Fuel Filler Pipe: Removal

WARNING: Place "NO OPEN FLAMES" signs near the working area.
CAUTION: Be careful not to spill fuel.
  1. Release the fuel pressure. < Ref. to RELEASING OF FUEL PRESSURE , PROCEDURE, Fuel. >
  2. Drain fuel. < Ref. to DRAINING FUEL (WITH SUBARU SELECT MONITOR) , PROCEDURE, Fuel. >
  3. Disconnect the ground cable from battery.
  4. Open the fuel filler lid and remove the fuel filler cap.
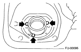
  5. Remove the bolt which secures the gasket.
    Fig 1: Locating Gasket Bolts
    G04997449Courtesy of SUBARU OF AMERICA, INC.
  6. Remove the rear wheel RH.
  7. Lift up the vehicle.
  8. Remove the mud guard. < Ref. to REMOVAL , Mud Guard. >
  9. Remove the rear suspension assembly. < Ref. to REMOVAL , Rear Sub Frame. >
  10. Disconnect the fuel filler hose.
    Fig 2: Identifying Fuel Filler Hose
    G08544005Courtesy of SUBARU OF AMERICA, INC.
  11. Remove the bolts which hold the fuel filler pipe on the body.
    Fig 3: Locating Fuel Filler Pipe Mounting Bolts
    G05031098Courtesy of SUBARU OF AMERICA, INC.
  12. Remove the fuel filler pipe to the underside of the vehicle.