LEMON Manuals: Even more car manuals for everyone: 1960-2025
Home >> Subaru >> 2014 >> Tribeca >> Repair and Diagnosis >> Engine Performance >> System >> Engine Controls (Diagnostics) >> Inspection Mode >> Procedure >> Generic Scan Tool
April 5, 2026: LEMON Manuals is launched! Read the announcement.

Generic Scan Tool

  1. Check that no DTC remains after clearing memory. Refer to CLEAR MEMORY MODE 
  2. Warm up the engine.
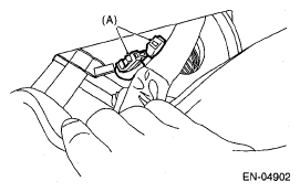
  3. Connect the delivery (test) mode connector (A) located under the glove box.
    Fig 1: Connecting Delivery Mode Connector
    G05346100Courtesy of SUBARU OF AMERICA, INC.
  4. Connect the generic scan tool to data link connector located in the lower portion of the instrument panel (on the driver's side).
    CAUTION: Do not connect the scan tools except for Subaru Select Monitor and generic scan tool.
    Fig 2: Locating Data Link Connector
    G05031666Courtesy of SUBARU OF AMERICA, INC.
  5. Start the engine.
    NOTE: Ensure the selector lever is placed in the "P" range before starting.
  6. Turn the neutral position switch to ON using select lever.
  7. Depress the brake pedal to turn the brake switch ON.
  8. Keep the engine speed in 2, 00 - 3, 00 RPM range for 40 seconds.
  9. Shift the select lever in the "D" range and drive the vehicle at 5 to 10 km/h (3 to 6 MPH).
    NOTE:
    • For AWD model, release the parking brake.
    • The rotating speed difference between front and rear wheels may illuminate the ABS warning light, but this does not indicate a malfunction. When engine control system diagnosis is finished, perform the VDC memory clearance procedure of self-diagnosis function. Refer to CLEAR MEMORY MODE
  10. Using the generic scan tool, check for DTC and record the result(s).
    NOTE:
    • For detailed operation procedures, refer to the generic scan tool operation manual.
    • For details concerning DTC, refer to "List of Diagnostic Trouble Code (DTC)".

    Refer to LIST OF DIAGNOSTIC TROUBLE CODE (DTC)