LEMON Manuals: Even more car manuals for everyone: 1960-2025
Home >> Subaru >> 2015 >> WRX Base >> Repair and Diagnosis >> External Pages >> Different car >> Section 145 (Entertainment System) >> Navigation System >> Operation >> Check Speaker Output With Line Diag Mode
April 5, 2026: LEMON Manuals is launched! Read the announcement.

Check Speaker Output With Line Diag Mode

WARNING: This page is about a different car, the 2016 Subaru Outback and 2016 Subaru Legacy. However, it is still accessible from the selected car via links, so may be relevant.
  1. Turn the ignition switch to ACC.
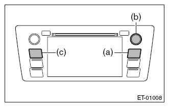
  2. Press the button (b) twice with the button (a) pressed.
    Fig 1: Identifying Button
    G10272638Courtesy of SUBARU OF AMERICA, INC.
    NOTE: Pressing the button (c) for 3 seconds or more, or turning the ignition switch from the OFF to ACC position can exit the diagnostic mode.
  3. {Line Diag} screen is displayed.
    Fig 2: Screen Display - Line Diag
    G10272639Courtesy of SUBARU OF AMERICA, INC.
  4. Touch {Audio Check} on the {Line Diag} screen.
  5. {Audio Check} screen is displayed.
    Fig 3: Screen Display - Audio Check
    G10309136Courtesy of SUBARU OF AMERICA, INC.
  6. Touch the {ON} key of {Speaker Check} to check speaker output.
    NOTE:
    • The speaker front left → front right → rear right → rear left will sound in order for 2 seconds each.
    • The speaker sounds at the maximum volume during speaker check.
    • Press the {BACK} key to return to the {Line Diag} screen.