LEMON Manuals: Even more car manuals for everyone: 1960-2025
Home >> Subaru >> 2015 >> WRX Base >> Repair and Diagnosis >> External Pages >> Different variant/trim >> Section 14 (Continuously Variable Transaxle (CVT)) >> Front Differential Assembly >> Disassembly >> Side Retainer
April 5, 2026: LEMON Manuals is launched! Read the announcement.

Side Retainer

WARNING: This page is about a different variant/trim than selected.
NOTE: After adjusting the drive pinion backlash and tooth contact, replace the oil seal and O-ring with new parts.
  1. Remove the O-ring.
    Fig 1: Identifying Side Retainer O-Rings
    G06654717Courtesy of SUBARU OF AMERICA, INC.
  2. Remove the oil seal.
    Fig 2: Identifying Side Retainer Oil Seal
    G07913664Courtesy of SUBARU OF AMERICA, INC.
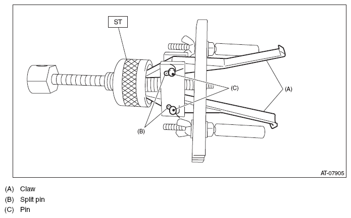
  3. Remove the SPLIT PIN (ST), and then remove the claw.

    ST 398527700 PULLER ASSY

    Fig 3: Removing Split Pin Using Puller Assy (ST 398527700)
    G10268418Courtesy of SUBARU OF AMERICA, INC.
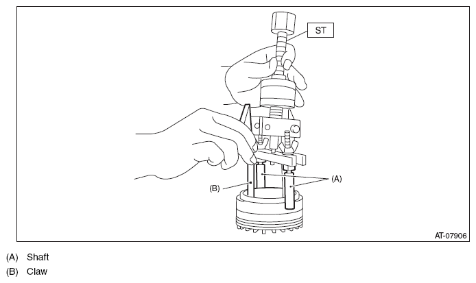
  4. Attach two claws to the outer race, and set the ST to side retainer.

    ST 398527700 PULLER ASSY

    Fig 4: Setting Puller Assy (ST 398527700) To Retainer
    G10268419Courtesy of SUBARU OF AMERICA, INC.
  5. Restore the removed claws to original position, and install the pin and split pin.
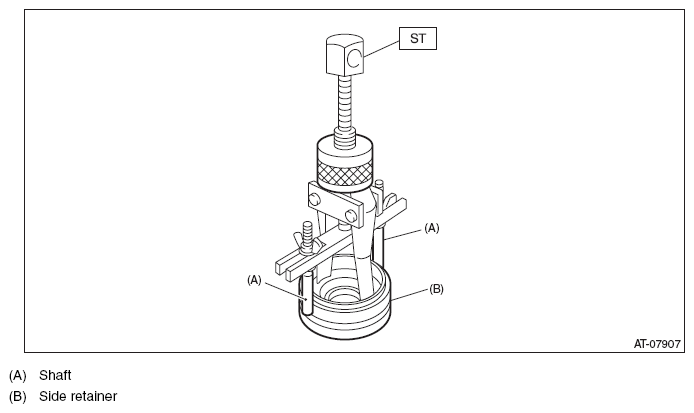
  6. Hold the shaft of ST to avoid removing from side retainer, and then remove the bearing outer race.

    ST 398527700 PULLER ASSY

    NOTE: Replace the bearing inner and outer races as a single unit.
    Fig 5: Holding Puller Assy (ST 398527700) Shaft
    G10268420Courtesy of SUBARU OF AMERICA, INC.