LEMON Manuals: Even more car manuals for everyone: 1960-2025
Home >> Subaru >> 2016 >> BRZ Premium >> Repair and Diagnosis >> Engine Performance >> Engine Control Systems >> Engine Control System (Service Information) >> Relay >> Unit Inspection
April 5, 2026: LEMON Manuals is launched! Read the announcement.

Unit Inspection

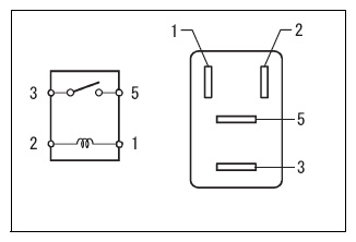
  1. Inspection of IG2 relay (IG2)
    1. Measure the resistance between the terminals.

      Resistance

      Inspection terminals Inspection conditions Standard value
      3 - 5 When the battery voltage is not applied to the terminal 1 and terminal 2: 10 k Ωor more
      3 - 5 When the battery voltage is applied to the terminal 1 and terminal 2: Less than 1 Ω
      Fig 1: Inspecting IG2 Relay (IG2)
      G10213090Courtesy of SUBARU OF AMERICA, INC.
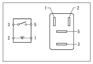
  2. Inspection of EFI relay (EFI MAIN1)
    1. Measure the resistance between the terminals.

      Resistance

      Inspection terminals Inspection conditions Standard value
      3 - 5 When the battery voltage is not applied to the terminal 1 and terminal 2: 10 k Ωor more
      3 - 5 When the battery voltage is applied to the terminal 1 and terminal 2: Less than 1 Ω
      Fig 2: Inspecting EFI Relay (EFI MAIN1)
      G10213091Courtesy of SUBARU OF AMERICA, INC.
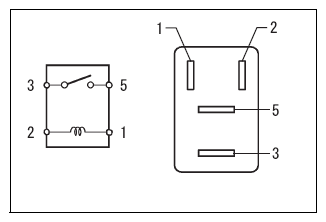
  3. Inspection of EFI relay (EFI MAIN2)
    1. Measure the resistance between the terminals.

      Resistance

      Inspection terminals Inspection conditions Standard value
      3 - 5 When the battery voltage is not applied to the terminal 1 and terminal 2: 10 k Ωor more
      3 - 5 When the battery voltage is applied to the terminal 1 and terminal 2: Less than 1 Ω
      Fig 3: Inspecting EFI Relay (EFI MAIN2)
      G10213092Courtesy of SUBARU OF AMERICA, INC.
  4. Inspection of EFI relay (EFI MAIN3)
    1. Measure the resistance between the terminals.

      Resistance

      Inspection terminals Inspection conditions Standard value
      3 - 5 When the battery voltage is not applied to the terminal 1 and terminal 2: 10 k Ωor more
      3 - 5 When the battery voltage is applied to the terminal 1 and terminal 2: Less than 1 Ω
      Fig 4: Inspecting EFI Relay (EFI MAIN3)
      G10213093Courtesy of SUBARU OF AMERICA, INC.
  5. Inspection of INJ relay (INJ)
    1. Measure the resistance between the terminals.

      Resistance

      Inspection terminals Inspection conditions Standard value
      3 - 5 When the battery voltage is not applied to the terminal 1 and terminal 2: 10 k Ωor more
      3 - 5 When the battery voltage is applied to the terminal 1 and terminal 2: Less than 1 Ω
      Fig 5: Inspecting INJ Relay (INJ)
      G10213094Courtesy of SUBARU OF AMERICA, INC.
  6. Inspection of ETCS relay (ETCS)
    1. Measure the resistance between the terminals.

      Resistance

      Inspection terminals Inspection conditions Standard value
      3 - 5 When the battery voltage is not applied to the terminal 1 and terminal 2: 10 k Ωor more
      3 - 5 When the battery voltage is applied to the terminal 1 and terminal 2: Less than 1 Ω
      Fig 6: Inspecting ETCS Relay (ETCS)
      G10213095Courtesy of SUBARU OF AMERICA, INC.
  7. Inspection of F/PMP relay (C/OPEN)
    1. Measure the resistance between the terminals.

      Resistance

      Inspection terminals Inspection conditions Standard value
      3 - 5 When the battery voltage is not applied to the terminal 1 and terminal 2: 10 k Ωor more
      3 - 5 When the battery voltage is applied to the terminal 1 and terminal 2: Less than 1 Ω
      Fig 7: Inspecting F/PMP Relay (C/OPEN)
      G10213096Courtesy of SUBARU OF AMERICA, INC.