LEMON Manuals: Even more car manuals for everyone: 1960-2025
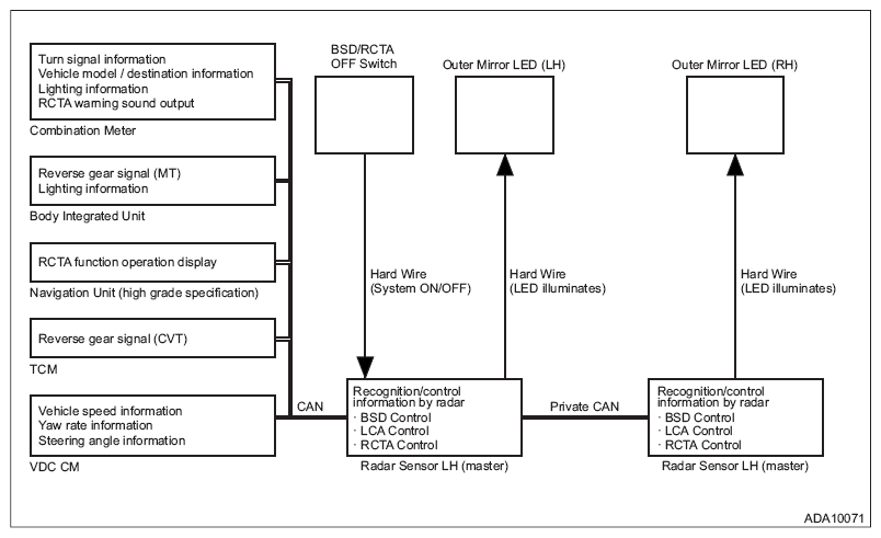
Home >> Subaru >> 2016 >> Outback 3.6R Limited >> Repair and Diagnosis (Single Page) >> Accessories & Equipment >> Drivers Assistance Systems - ADAS >> Blind Spot Detection System (Diagnostics) >> Control Module I/O Signal >> System Block Diagram
April 5, 2026: LEMON Manuals is launched! Read the announcement.

System Block Diagram