LEMON Manuals: Even more car manuals for everyone: 1960-2025
Home >> Subaru >> 2016 >> WRX Base >> Repair and Diagnosis >> Engine Performance >> Engine Control Systems >> Fuel Injection System (WRX) >> Fuel Tank >> Installation
April 5, 2026: LEMON Manuals is launched! Read the announcement.

Fuel Tank: Installation

  1. Support the fuel tank with a transmission jack, set the fuel tank in place, and temporarily tighten the bolts of the fuel tank band.
    WARNING: A helper is required to perform this work.
    Fig 1: Locating Fuel Tank Band Bolts
    G10264912Courtesy of SUBARU OF AMERICA, INC.
  2. Tighten the bolts of the fuel tank band in the order shown in the figure.

    Tightening torque: 

    33 N.m (3.4 kgf-m, 24.3 ft-lb) 

    Fig 2: Fuel Tank Band Bolts Tightening Sequence
    G10264914Courtesy of SUBARU OF AMERICA, INC.
  3. Install the heat shield cover and stopper.

    Tightening torque: 

    18 N.m (1.8 kgf-m, 13.3 ft-lb) 

    Fig 3: Locating Heat Shield Cover And Stopper Screws
    G10264911Courtesy of SUBARU OF AMERICA, INC.
  4. Install the fuel tank protector. < Ref. to INSTALLATION , Fuel Tank Protector. >
  5. Connect the vent tube to the vent hose.
    Fig 4: Locating Vent Tube Clamp Of Vent Hose
    G09487206Courtesy of SUBARU OF AMERICA, INC.
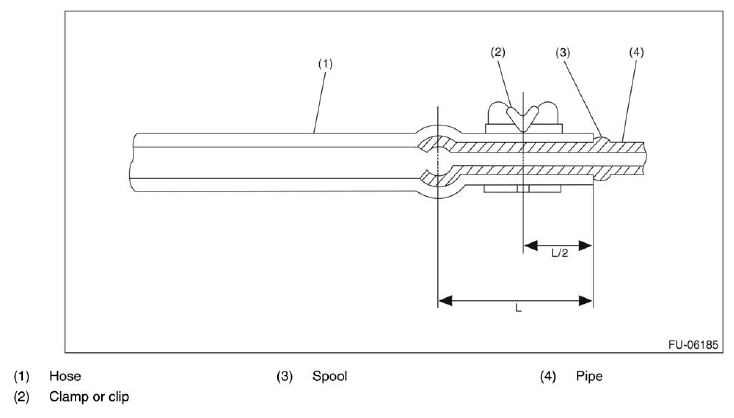
  6. Securely insert the fuel filler hose (A) and evaporation hose (B) until the hose end contacts the spool, then attach the clamp or clip as shown in the figure.

    Tightening torque: 

    2.5 N.m (0.3 kgf-m, 1.8 ft-lb) 

    Fig 5: Identifying Fuel Filler Hose And Evaporation Hose Of Fuel Filler Pipe Assembly
    G10291332Courtesy of SUBARU OF AMERICA, INC.
    Fig 6: Identifying Hose, Spool, Pipe, Clamp And Clip
    G10291333Courtesy of SUBARU OF AMERICA, INC.
  7. Install the rear differential. < Ref. to INSTALLATION , Rear Differential (T-type). >
  8. Install the rear exhaust pipe. < Ref. to INSTALLATION , Rear Exhaust Pipe. >
  9. Connect the quick connector of the fuel delivery tube.
    CAUTION:
    • Check that there is no damage or dust on the quick connector. If necessary, clean the seal surface of the pipe.
    • When connecting the quick connector, make sure to insert it all the way in before locking the slider.
    • When it is difficult to lock the slider, check that the connector is fully inserted.
    • After locking the slider, check again that the quick connector is securely connected.
    NOTE: Connect the quick connector as shown in the figure.
    Fig 7: Connecting Quick Connector
    G10291334Courtesy of SUBARU OF AMERICA, INC.
    Fig 8: Locating Quick Connector On Fuel Delivery Tube
    G08315490Courtesy of SUBARU OF AMERICA, INC.
  10. Connect the connector to the fuel sub level sensor.
    Fig 9: Locating Fuel Sub Level Sensor Connector
    G08315488Courtesy of SUBARU OF AMERICA, INC.
  11. Install the service hole cover of fuel sub level sensor.
    Fig 10: Locating Service Hole Cover Screws Of Fuel Sub Level Sensor
    G08315487Courtesy of SUBARU OF AMERICA, INC.
  12. Connect the connector to the fuel pump.
    Fig 11: Locating Fuel Pump Connector
    G09475615Courtesy of SUBARU OF AMERICA, INC.
  13. Install the service hole cover of fuel pump.
    Fig 12: Locating Service Hole Cover Screws Of Fuel Pump
    G08315485Courtesy of SUBARU OF AMERICA, INC.
  14. Install the rear seat cushion. < Ref. to INSTALLATION , Rear Seat. >
  15. Connect the ground terminal to battery sensor. < Ref. to BATTERY , NOTE, Note. >